Curiosii for ever!: Car repair manuals for everyone.

Volvo Navigation System, Wide Screen













Volvo Navigation System, widescreen

































Cars equipped with SRS/SIPS (Airbag)

Warning! Extra care must be taken when working on cars equipped with SRS/SIPS air bags. This is important to prevent:1. Personal injury2. Damage to or malfunction of the SRS/SIPS system. Work on the SRS/SIPS systems or related components must be carried out by an authorized Volvo workshop.

Is the car equipped with SRS/SIPS?
Cars with SRS are most easily recognized by the letters SRS on the steering wheel pad. If the car also has an airbag on the passenger side, the letters SRS are embossed on the dashboard above the glove compartment. SIPS decals are located on the seat panels and the windscreen.

Do not damage the SRS wiring!
Do not trap, fray, pierce or damage the SRS wiring. SRS wiring has orange casing and/or is plaited.

Steering and front suspension
The contact reel in the SRS system can easily be damaged when working on the steering wheel, steering shaft or steering gear. Refer to the SRS for information on carrying out such work. This is to prevent damage.

SRS warning lamp
If the SRS warning lamp lights after repairs have been carried out, take the car to an authorized Volvo workshop.

SRS collision sensor control module






S60 / V70 (00-) / S80
The collision sensor control module is located on the transmission tunnel in the centre console, beside the parking brake. The air bag inflation areas must not be obstructed. Never place any objects, such as upholstery, within these areas. The panels must be able to open in the correct way and at the right time.






WARNING!
The ignition must be in position "0" and the key removed from the ignition if any connector in the SRS system is to be disassembled. Then wait at least five minutes. Then disconnect the battery negative lead before disassembling any of the connectors.






Volvo Navigation System, widescreen

Note! This accessory is connected to the car's electrical system. It requires software unique to the car.

Note! There is already a cable harness for the power supply for the CD changer in cars with CD changers. This cable harness must be disconnected. The new cable harness supplies power to both the CD changer and the RTI/DVD and must be connected in the same position as the old cable harness. This is carried out in points 20, 23, 24, 25, 26.

Preparations

Applies to cars with power seats
- Move the left front seat to its rearmost position.




- Turn the ignition key to position 0
- Remove the key from the ignition switch (does not apply to cars with automatic gearboxes)
- Disconnect the battery negative lead.

Note! Wait at least five minutes before disassembling the connectors or removing other electrical equipment.




- Carefully remove the loudspeaker grille (1) on the dashboard. Use a weatherstrip tool or similar.




- Remove the screws (1). Remove the bracket (2).





Applies to cars with a centrally-mounted loudspeaker
- Remove the three screws in the loudspeaker (1)
- Lift up the loudspeaker. Disconnect the connector (2)
- Place the loudspeaker to one side.




- Detach the panel (1). Detach the gear selector lever boot using a weatherstrip tool.




- Move the gear selector lever to its rearmost position
- Pull the panel (1) with the boot backwards. Turn the panel as illustrated
- Remove the screws (2) from the dashboard environment panel.




- Angle the dashboard environment panel outwards so that it is possible to insert a couple of fingers between the centre console and the reverse of the dashboard environment panel
- Remove the dashboard environment panel by pulling it downward, maintaining the same angle. Some force is required because the panel is tightly installed
- Disconnect the connectors on the reverse of the dashboard environment panel. Place the dashboard environment panel to one side.

Note! If any of the outer hooks break off, these must be repaired.




- Remove the screws (1) from the radio bracket
- Pull out the bracket with the radio. Pull the lower corner while pressing downwards
- Disconnect the connectors on the radio. Place the bracket with the radio to one side.




- Move the left front seat to its rearmost position
- Remove the left side panel (1) from the centre console by turning the clip and pulling the panel outwards and backwards
- Remove the sill trim panel (2) at the left-hand front door
- Remove the cover (3) and the screws (4) for the front mountings in the left-hand front seat.




- Tip the left-hand front seat backwards
- Push the floor carpet to one side to access the air ducts (1).




- Remove the seat cushion from the left-hand rear seat.(1). First lift the front edge of the cushion and then pull forwards
- Remove the sill trim panel (2) at the left-hand rear door.




- Remove the seat belts from the guides (1) on the right and left-hand side cushions
- Insert a hand down the side of the lower section of the left side cushion. Release the catches while lifting the side cushion. Place the cushion to one side
- Fold forward both backrests.




- Carefully lift the front edge of the parcel shelf panel until the clips (1) release
- Lift up the parcel shelf further until the locating pins (2) release from their holes
- Pull out the parcel shelf. Lay the parcel shelf on the folded backrests.




- Lift out the cargo compartment carpet
- Press the centres of the clips at the bottom of the foldable side panel on the left-hand side until a click is heard
- Remove the two clips
- Remove the plastic nut at the front edge of the side panel
- Repeat the operation on the right-hand side.




- Turn the handle (1) on the right and left-hand sides through 90°.
- Fold the side panels down. Lift the panels out. Place the left-hand side panel to one side (there is a new panel in the kit)
- Remove the two covers (2). Remove the screws (3) in the sill trim panel
- Grip the outer edges of the sill trim panel (4). Pull the panel inwards towards the centre so that the clips release from the sides
- Disconnect the connectors (5) for the cargo compartment lamps
- Remove the sill trim panel by pulling it straight upwards so that the clips release from the rear cross member.




- Remove the clips (1) and the plastic nut in the left front side panel in the cargo compartment. It is easiest to access the front upper clip from the side of the rear seat
- Remove the front side panel.





Applies only to cars with a CD changer
- Remove the four screws (1) in the bracket for the CD changer
- Remove the CD changer with the bracket
- Remove the DIN cable and the cable with the blue connector from the rear end of the CD changer.

Cable routing




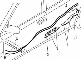
- Route the wiring (A in the kit illustration) for the display screen and the radio, and the loose cable for the display screen with the ten pin connectors (B in the kit illustration) for the radio socket between the air duct (1) and the stay (2). Ensure that the straight connector on the loose cable (B) is routed to the hole for the radio
- Route the display screen green 5-pin power supply connector (3) and the cable (B) to the left of the air ducts above the hole for the radio. Continue up through the cut out for the dashboard loudspeaker
- Secure the wiring in the stay (2) using a tie strap (4)
- Route the wiring above and along the air duct (1) to the member (5)
- Clamp the wiring at the existing cable harness (6) using a tie strap.




- Route both cables (A and B in the kit illustration) under the carpet. Continue along the left-hand side of the car to the rear door
- Install protective caps on the lugs (1) for the cable ducts
- Route the wiring further above and along the front cable duct (2). Continue along the right hand side of the rear cable duct (3)
- Connect the ground lead in the rear ground terminal (4) at the left side of the rear seat.

Applies only to cars with a CD changer
- Disconnect the existing ground lead and secure it out of the way.




- Route the wiring (A and B) under the wiring at the cable duct (1). Continue out through the hole in the car body by the front edge of the wheel arch
- Route the wiring along the inside of the cable duct (2) and the insulation panel by the wheel arch in the cargo compartment
- Pull forwards and position the wiring as illustrated.





Applies to cars without a CD changer
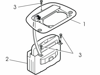
- Install the small bracket (1) (for the DVD reader bracket) onto the rear crossmember under the left tail lamp. Use the screw (2) from the kit.

Terminals in the fuse holder




- Remove the rear electronic module. First open the catch (1) on the top of the module. Fold the module forward. Lift the module from the mountings (2).





Applies only to cars with a CD changer
- Remove all the fuses (1) from the outside of the fuse holder.





Applies only to cars with a CD changer
- Remove the decal from the face of the fuse holder
- Carefully pry up the red secondary locking until a click is heard.





Applies only to cars with a CD changer
- Insert a small screwdriver in the outer terminal in fuse socket number 10
- Locate the small spring catch on the inside
- Bend the catch out of the way by inserting the screwdriver in the direction of the arrow. At the same time pull the existing cable out
- Connect the new routed red and white (R/W) cable. Press in the secondary locking. Reinstall the decal on the face.




- Connect the new routed red and white cable to the outer terminal (1) on the reverse of fuse socket number 10 on the fuse holder. Carefully pry up the red secondary locking on the face in the end nearest terminal 10. At the same time press the cable into position.

Hint: If there is a problem inserting the cable, carry out the procedures for removing the cable according to points 24-26.

- Install a 10 A fuse in fuse socket 10 on the fuse holder.




- Remove the screw (1)
- Pull out the cover (2) using the four connectors
- Remove the cover from the four connectors by bending the three hooks to one side.




- Insert a small screwdriver in the socket on connector A as illustrated
- Twist the screwdriver so that the holders open. At the same time press the connector out to the side
- Connect the white (W) cable to terminal 15 and the green (GN) cable to terminal 17.

Reinstall:
- the connector
- the cover on the connector
- the connectors on the rear electronic module. Tighten the screw
- the rear electronic module.

Installing and connecting the Global Positioning System (GPS) aerial




- Install the new Global Positioning System (GPS) aerial (1) in the guide hole. Press the Global Positioning System (GPS) aerial into place using the clip in the hole in the centre of the rear edge of the parcel shelf as illustrated
- Route the new cable (C in the kit illustration) for the Global Positioning System (GPS) aerial. Follow the routing of the existing loudspeaker cable inside the seat belt holder (2)
- Connect the cable to the Global Positioning System aerial
- Secure at the points (3)
- Route the cable through the lead-in (4) to the rear edge of the wheel arch.

Installing the DVD reader




- Secure the cable harness at the cable duct using two tie straps (1)
- Secure the excess blue connector together with the cable harness connected to the fuse holder at the cable harness for the fuse holder. Use a tie strap (2).

Illustration 31B applies to cars with a CD changer




- Secure the cable harness at the cable duct using two tie straps (1)
- Secure the cable harness connected to the fuse holder at the cable harness to the fuse holder using a tie strap (2)
- Route the cable (3) with the blue connector. Position the cable at the tail lamp. The cable will be connected to the CD changer later.




- Take four screws, the bracket and the DVD reader from the kit. Tighten the DVD reader at the bracket.

Illustration 32B applies to cars with a CD changer




- Secure the DVD reader by the bracket for the CD changer using the four screws from the kit
- Connect a short DIN cable (1) (purchased separately) to the CD changer
- Press the clip (2) into the hole in the left-hand front edge / lower edge of the bracket.




- Install the bracket with the DVD reader behind the wheel arch using the four screws (1) from the kit as illustrated. Tighten the screws. Tighten to 10 Nm (7 lbf. ft).

Illustration 33B applies to cars with a CD changer




- Install the bracket with the CD changer / DVD reader behind the wheel arch using the four screws (1) from the kit as illustrated. Tighten the screws. Tighten to 10 Nm (7 lbf. ft).

Connecting the DVD reader





Connect:
- the display screen cable (1)
- the power supply cable (2)
- the cable (3) for the Global Positioning System (GPS) aerial
- Secure the cable harness at the cable duct using a tie strap (4) as illustrated.

Illustration 34B applies to cars with a CD changer





Connect:
- the display screen cable (1)
- the cable (2) for the DVD reader power supply
- the cable (3) for the Global Positioning System (GPS) aerial
- the short DIN cable (4) previously connected to the CD changer
- the blue connector (5) previously routed to the CD changer power supply
- the DIN cable (6) previously disconnected from the CD changer
- Secure the cable harnesses using a tie strap (7).




- Take the aerial amplifier (1) from the kit. Connect the cable (2) to the connector (3) for the aerial in the rear bumper by the right-hand tail lamp
- Position the aerial amplifier on the panel edge in front of the right-hand tail lamp
- Tighten the aerial amplifier onto the edge of the panel.




- Take the transparent cable (D in the kit illustration) from the kit
- Connect the green connector (1) to the DVD reader
- Route the cable under the bracket for the DVD reader, continue along the cable harness in the rear crossmember and forwards to the right-hand tail lamp
- Connect the cable to the lower socket (2) on the aerial amplifier
- Secure the cable at the rear crossmember and under the DVD reader using tie straps (3).

Installing and connecting the display screen





Applies to cars without a centrally mounted loudspeaker
- Install the bracket (1) on the display (2)
- Secure using the three screws (3) from the kit.

Applies to cars with a centrally mounted loudspeaker
- Install the bracket (1) on the display screen (2). Use the front screw (3).





Applies to cars without a centrally mounted loudspeaker
- Connect the wiring for the DVD reader (1) to the display (2)
- Install the display screen with the bracket in the dashboard using the existing screws (3)
- Press the new loudspeaker grille (from the kit) into place on the dashboard.





Applies to cars with a centrally mounted loudspeaker
- Install the centrally mounted loudspeaker in the cut out in the bracket for the display screen
- Tighten the loudspeaker into place using the four screws
- Press the connector (1) for the centre loudspeaker into the bracket on the left-hand under side of the display screen bracket.





Applies to cars with a centrally mounted loudspeaker
- Connect the three cables (1) to the display screen and the centrally mounted loudspeaker
- Press the display screen and bracket into the dashboard. Tighten using the three existing screws (2)
- Press the new loudspeaker grille (from the kit) into place on the dashboard.

Finishing work

- Connect the green female connector on the new cable harness, to the green male connector disconnected from the radio
- Connect the other two other large connectors to the radio
- Connect the other connectors removed from the radio
- Reinstall the radio
- Connect the connectors to the dashboard environment panel. Reinstall the panel
- Reinstall the panel and gear selector lever boot around the gear selector lever
- Fold the carpet at the left-hand front seat back into position
- Reinstall the side panel on the centre console
- Reinstall the sill trim panel in the left-hand front and rear doors
- Fold the left-hand front seat back into position
- Tighten the screws in the front edge of the seat using new screws from the kit. Tighten to 40 Nm (30lbf ft). Reinstall the covers over the screws
- Reinstall the parcel shelf
- Connect the connectors for the cargo compartment lamps on the rear crossmember panel. Reinstall
- Reinstall the left-hand front side panel in the cargo compartment
- Reinstall the right-hand folding panel and a new left-hand folding panel from the kit
- Reinstall the side cushion
- Fold the backrest back into place
- Reinstall the seat cushion.




- Turn the ignition key to position II
- Reconnect the battery negative lead
- Reinstall the carpet in the cargo compartment
- Program the software according to the service information in VIDA.