Curiosii for ever!: Car repair manuals for everyone.

Signal Specification, Keypad Unit / Car phone Module (PHM)






Signal specification, Keypad unit / car-phone module (PHM)

Connecting the breakout box and checking the ground terminal

Note! It is important to connect the breakout box and check ground terminals according to Checking ground terminals Component Tests and General Diagnostics before taking readings.

Definitions






Keypad unit /Car phone control module (PHM) (for hands-free loudspeaker and handset)




Before measuring, read Connecting the breakout box and checking the ground terminal.






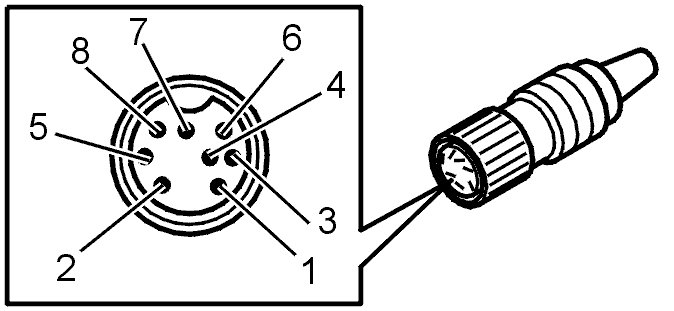
Keypad unit / Car phone module (PHM) (to car-phone box)




Before measuring, read Connecting the breakout box and checking the ground terminal.






Car phone box (to keypad unit / car-phone module (PHM)




Before measuring, read Connecting the breakout box and checking the ground terminal.






Car phone (for hands-free microphone)




Before measuring, read Connecting the breakout box and checking the ground terminal.






Handset (for keypad unit / car-phone module (PHM))




Before measuring, read Connecting the breakout box and checking the ground terminal.






Hands-free speakers (for keypad unit / car-phone module (PHM))




Before measuring, read Connecting the breakout box and checking the ground terminal.