Curiosii for ever!: Car repair manuals for everyone.

Alignment: Service and Repair






Wheel alignment, checking / adjusting

Note! When working on the steering or wheel alignment on cars with DSTC, the adaptation of the steering wheel angle must be set to zero using VIDA. Test drive. See Test Drive Form (DSTC (dynamic stability and traction control) /brake control module), description Test Drive Form (DSTC (Dynamic Stability And Traction Control) /Brake Control Module), Description.

Note! For tightening torques, see: Tightening torque Tightening Torque.

Note! When checking and adjusting front wheel alignment the following applies:

- Any adjustment to the front camber angle must always be carried out before adjusting the toe angle.
- Since the car's rear wheels also have adjustable toe angles, the front toe angle must always be adjusted in relation to the car's geometric driving axis (the thrust line). This is to achieve maximum stability and minimum tire wear.
- All measurements must be made using alignment equipment for four-wheel drive vehicles.
- All measurements must be made with the car empty
- All measurements must be made with a full fuel tank
- Check all the tire pressures before beginning measurement.

Check play, front




Raise the front end. Lift under the control arms as close to the ball joint as possible.

Check that there is no play in
- the tie rods
- the wheel bearings
- the upper spring strut mounting
- the ball joints or control arm bushings.
If there is play in any of the components above, this must be remedied before the wheel settings are checked/adjusted.

Checking play, rear
Lift up the rear suspension.

Note! Only the toe angle can be adjusted on the rear end but the camber angle must also be checked.

Check that there is no play in
- the wheel bearings. (If there is play the hub assembly must be replaced)
- the control arms, lateral link and track rod.
If there is play in any of the components above, this must be remedied before the wheel settings are checked/adjusted.

Installing the test equipment




Set up the test equipment on the front and rear wheels. Set up the test equipment according to the instructions.
Position the turntables under the front wheels. Use turntables which take up lateral movement

Note! The car must stand level when the front wheels are on the turntables. This is to ensure that the correct values are obtained when checking the camber and caster.

Bounce the front and rear suspension heavily a few times when the car has sunk onto the turntables. This is so that the suspension resumes the normal setting.

Hint: The following order of work is recommended for best results
- Step 1 Camber angle front check/adjust.
- Step 2 Rear suspension angles check/adjust.
- Step 3 Check/adjust front toe angle.

Checking the camber angle, front
Check the camber angle on both sides.

Adjusting the camber angle, front




Conditions
The camber angle is adjusted by moving the stub axle at the upper hole in the spring strut outwards or inwards depending on the value measured.
If the stub axle is centered in the spring strut, the degree of adjustment is ± 0.5°.
Adjustment
Raise the front end.

Remove
- the instrument
- the wheel.

Replace the screws and nuts securing the spring strut to the stub axle. Tighten to light contact.
Press the stub axle in or out to the maximum, depending on the value measured in relation to the spring strut.
Tighten the screws according to Tightening torque Tightening Torque.

Install
- the wheel. See Installing wheels Service and Repair.
- the instrument and make a new adjustment according to the instructions.

Lower the car on the turn table. Rock the car a few times. Check the values.

Checking the camber angle, rear




Check the camber angle on both sides.
For the correct values for each model, see Wheel camber, specifications Specifications.

Checking rear toe angle





Note! Always check thrust angle when checking/adjusting rear toe angle.

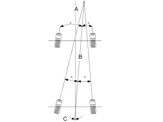
Check that the instruments are adjusted in relation to each other on the front and rear axles. This is extremely important so that the rear wheel toe angle can be adjusted in relation to the car's thrust line (geometric driving axis). The thrust line is the line created when the toe angles for the rear wheels are equally divided. See the illustration.
The difference between the symmetry line of the wheels and the thrust line is called the thrust angle. The thrust angle must not deviate by more than a maximum of 0° ± 0.25° from the symmetry line of the wheels.

Note! The differences in the diagram are heavily exaggerated in order to illustrate the differences.





Check
- the symmetry line of the wheels
- the thrust line
- the thrust angle
- Toe angle.
For the correct values for each model, see Wheel camber, specifications Specifications.

Adjusting rear toe angle




- Slacken off the inner nut on the track rod
- Adjust the toe angle to correct value according to Wheel camber, specifications Specifications using the eccentric screw. Tighten the nuts slightly.
- Check the thrust angle. It it does not comply with the specified value, undo the nuts and readjust the toe angle.
- Tighten the nut. See: Tightening torque Tightening Torque.

Checking the caster angle, front




Check the caster angle on both sides.
The correct value is 4.0° ± 1.0°. The caster angle must not vary by more than 0.25° between the left and right-hand sides.

Checking front toe angle




Check that the instruments are calibrated to each other on the front and rear axles. This is very important so that the front toe angle can be adjusted in relation to the thrust line of the car (geometric driving axis). The thrust line is the line formed when the rear wheel toe angles are divided equally, see illustration.
The difference between the symmetry line of the wheels and the thrust line is called the thrust angle. The thrust angle must not deviate by more than a maximum of 0° ± 0.25° from the symmetry line of the wheels.

Note! The differences in the diagram are heavily exaggerated in order to illustrate the differences.

Check
- the symmetry line of the wheels
- the thrust line
- the thrust angle.




For the correct values for each model, see Wheel camber, specifications Specifications.

Adjusting front toe angle




Adjust with the tie rods after loosening the lock nuts. Adjusting towards a positive value will give toe-in and towards a negative value toe-out. To obtain correct values on respective model variants, refer to Wheel camber, specifications Specifications.

Note! The lengths of the tie rods must not vary between themselves by more than 2mm. Measure between the lock nut and the edge of thread.

Tighten the lock nut, outer steering arm inner to steering arm inner. See: Tightening torque Tightening Torque.
Treat the strut threads using rustproofing agent after tightening.

Adjusting the position of the steering wheel




A minor misalignment of the steering wheel can be adjusted in conjunction with adjusting the toe angle above.
For larger deviations in the steering wheel, adjust the position of the steering wheel. See Adjusting the position of the steering wheel Adjustments.