Curiosii for ever!: Car repair manuals for everyone.

Signal Specification, Audio Control Module






Signal specification, audio control module

Connecting the breakout box and checking the ground terminal

Caution! Before starting to measure, the breakout box must be connected and the ground connections must be checked. See Checking the ground terminals Checking Ground Terminal.

Definitions






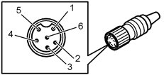
The audio control module, green connector





Note! The connectors on the adapter cable must have the correct color-coding for the signal table to match.

Before taking any readings, see Checking the ground terminals Checking Ground Terminal.






Audio control module (AUM)/External amplifier to loudspeakers, gray connector





Note! The connectors on the adapter cable must have the correct color-coding for the signal table to match.

Before taking any readings, see Checking the ground terminals Checking Ground Terminal.






Audio control module (to aerial)
Before taking any readings, see Checking the ground terminals Checking Ground Terminal.






Audio control module (cable between the audio module and the amplifier)




Before taking any readings, see Checking the ground terminals Checking Ground Terminal.






Audio control module (cable between the audio module and the CD changer/navigation unit)




Before taking any readings, see Checking the ground terminals Checking Ground Terminal.






External amplifier
Before taking any readings, see Checking the ground terminals Checking Ground Terminal.






10CD changer




Before taking any readings, see Checking the ground terminals Checking Ground Terminal.