Curiosii for ever!
: Car repair manuals for everyone.
Home
>>
Volvo
>>
2000
>>
S70 L5-2.4L VIN 61 B5244S
>>
Repair and Diagnosis
>>
Starting and Charging
>>
Starting System
>>
Ignition Lock
>>
Locations
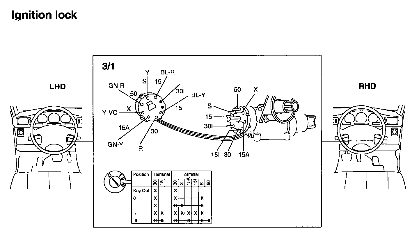
Ignition Lock: Locations
Ignition Lock: