Curiosii for ever!: Car repair manuals for everyone.

Fuel Tank Pressure Sensor: Service and Repair




REPLACING FUEL TANK PRESSURE SENSOR

Special tools: 999 5972

Preparations




5-door cars:
Remove all floor hatches and fold back carpet. Remove cover over fuel pump (FP) unit.

4-door cars:
Fold forward right rear seat
Remove cargo compartment carpet.
Fold back corner of wheel housing panel at shock absorber mounting.
Remove cover over fuel pump (FP) unit.







Disconnect connectors
Disconnect all connectors on the bracket.
Remove rubber bracket around wiring.
Remove fuel filler pipe ground lead from nut on fuel tank level sensor cover.
Ensure that all cables routed through the fuel pump (FP) unit hole are free to follow the fuel tank when it is lowered.




Remove fuel filler pipe
Remove circlip securing rubber seal.
Release rubber seal from bodywork.




Remove fuel tank
Position mobile jack with fixture 999 5972 under fuel tank, check that the lifting platform is flat so as not to damage the fuel tank.
Undo tank retaining straps and lower tank slightly.




Remove front holder
Remove the entire mounting from the bracket by pulling it towards the right of the car.
Disconnect the hose between the EVAP canister shut-off valve and air cleaner (ACL) from the clamp on the fuel tank.

Hint: Note position of hose in the clamp in case it opens. The hoses must be reinstalled in their original positions.




Replacing fuel tank pressure sensor
Remove the screw
Remove clamp

Note! The clamp will be reused

Removing clamp:
squeeze clamp with a pipe wrench. Hold in place pry apart with a small screwdriver.

Note! It is reusable.

Disconnect hose.
Remove cable harness.
Install the new pressure sensor, route cabling as before.

Installing clamp:
Press in the clamp with a pipe wrench until it locks.




Installing fuel tank
Raise the fuel tank so that the front holder can be installed to the bracket by pressing it until it locks into place.
Ensure that cabling routed through the fuel pump (FP) unit hole will not be trapped when the fuel tank is installed.
Raise the fuel tank and fix it to the bodywork. Install EVAP canister shut~ft valve hose in the clamp on the fuel tank.




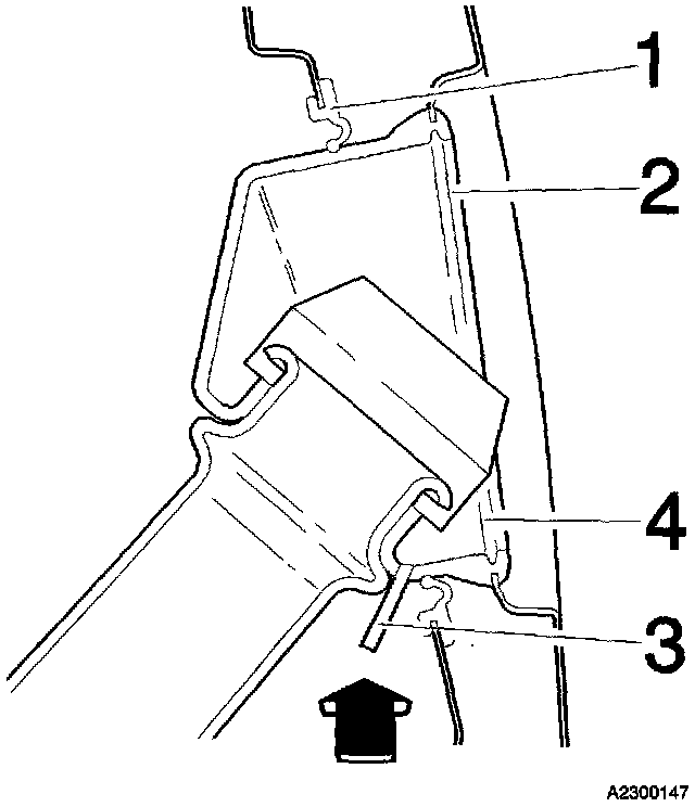
Installing rubber cover on fuel filler pipe
Check that the inner rubber seal is correctly seated and that the drain pipe is inside the inner seal.
Check that circlip (1) is in position.
Lubricate rubber cover sealing surfaces (2) with petroleum jelly.
Install rubber cover (ensure that it is correctly positioned in relation to bodywork).
Install circlip (4) and drain pipe (3).
Connect all connectors and install fuel filler pipe ground lead.
Install rubber bracket around wiring.
Install panels, covers and carpets.