Curiosii for ever!
: Car repair manuals for everyone.
Home
>>
Volvo
>>
2000
>>
S40 L4-1.9L Turbo VIN 25 B4204T2
>>
Repair and Diagnosis
>>
Cruise Control
>>
Service Precautions
Cruise Control: Service Precautions
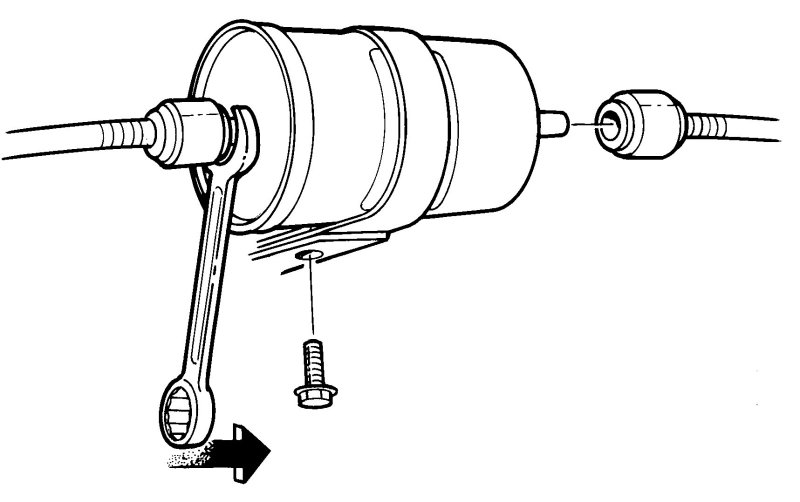
Cleanliness
Cleanliness is particularly important when working on the fuel system.
Clean the fuel line connections thoroughly before disconnecting them.