Curiosii for ever!: Car repair manuals for everyone.

Removal and Replacement






Tank pressure sensor, replacement

Special tools:
999 5972 FIXTURE 999 5972 Fixture

Preparations





5 door car:
- Remove all floor hatches and fold the mat under.
- Remove the cover over the fuel pump fitting.

4 door car:
- Fold the right-hand rear seat forward.
- Remove the cargo compartment mat.
- Fold under the corner of the wheel house panel at the shock absorber mounting.
- Remove the cover over the fuel pump fitting.

Removing the connectors








- Separate all connectors that are mounted in the bracket.
- Remove the rubber bracket that is fitted around the electric cables.
- Make sure that the cables that go through the hole at the fuel pump fitting are free and can follow the tank when it is lowered later.

Removing the filler pipe




- Remove the lock ring that stretches the rubber seal.
- Remove the rubber seal from the body.

Removing the fuel tank




- Set lift with fixture 999 5972 FIXTURE 999 5972 Fixture under the tank. Ensure that the lift table is level so that the tank is not damaged.
- Remove the tank strap and lower the tank a bit.

Removing the front fastener




- Remove the entire mounting from the bracket by pulling it toward the right-hand side of the car.

Fitting a new tank pressure sensor




- Remove the old tank pressure sensor.
- Fit the new pressure sensor. Fit the electric cables the same way as the old ones were fitted.

Note! It is important that the hose is correctly fitted on the tank pressure sensor so that there are no leaks.

Fitting the fuel tank




- Raise the tank enough to allow you to fit the front fastener on the bracket.
- Fit the electric cables that are to go in to the body through the hole at the fuel pump fitting so that they are not pinched when the tank is fitted.
- Raise the tank and fix it to the body.

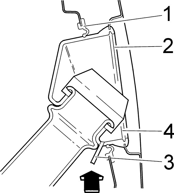
Fitting the rubber cap on the filler pipe




- Check that the inner rubber seal is in position and that the drain pipe lies inside the inner seal.
- Check the position of the ring (1).
- Use Vaseline to lubricate the sealing surface of the rubber cap (2) where it meets the filler pipe.
- Fit the rubber cap (ensure it is positioned correctly to the body).
- Fit the ring (4) and drain pipe (3).
- Attach the connectors to the fuel pump and level sensor. Tank pressure sensor and ABS sensors.
- Fit the rubber bracket around the cable harness.
- Fit the panels, covers and mats.