Curiosii for ever!: Car repair manuals for everyone.

Signal Too Low. Permanent Fault






Signal too low. Permanent fault

Checking connector, wiring and components

Caution! Do not apply rust solvent spray or grease to the heated oxygen sensor (HO2S) connector.

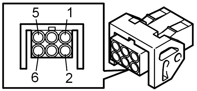
Check the heated oxygen sensor (HO2S) connector. Check for contact resistance and oxidation according to Checking wiring and terminals. Permanent fault Checking Wiring and Terminals. Permanent Fault.
Check the signal cable (-) between heated oxygen sensor (HO2S) terminal #5 and control module terminal #A42 (#A42). Check the cable for calibration current between heated oxygen sensor (HO2S) terminal #2 and control module terminal #A28 (#A28). Check for an open-circuit. See Checking wiring and terminals. Permanent fault Checking Wiring and Terminals. Permanent Fault.
Check the cable for the calibration current between heated oxygen sensor (HO2S) terminal #2 and control module terminal #A28 (#A28). Check the cable for pump current between heated oxygen sensor (HO2S) terminal #6 and control module terminal #A24 (#A24). Check for a short-circuit to each other. See Checking wiring and terminals. Permanent fault Checking Wiring and Terminals. Permanent Fault.
If the connector and cables are OK try a new heated oxygen sensor (HO2S).
Remedy as necessary.

Other information
- To connect the breakout box and access the control module, see Connecting the breakout box, B5234T9, B5244T7 Connecting The Breakout Box
- To access or replace the heated oxygen sensor (HO2S) see Adapter wiring switch, replacing Adapter Wiring Switch, Replacing
- For information about signals see Signal specification Signal Specifications.














Continue - Verification

-------------------------------------------------

Verification




Verification

Hint: After carrying out the repair, check that the fault has been remedied.








- Ignition off.
- Reconnect connectors, reinstall components.
- Test drive the car according to the TRIP schedule.

Note! After test driving the engine should not be turned off. The test drive must be carried out again.

Connect VIDA again and read out the front heated oxygen sensor (HO2S) diagnostic trouble code (DTC) status.
The value should be higher than 1.0.









Is the value higher than 1.0?

Yes - VERIFIED

No - VERIFICATION FAILED

------------------------

VERIFICATION FAILED - Fault-tracing information

VERIFIED - FAULT FOUND

-------------------------------------------------

Fault-tracing information




Information

Fault-tracing information
The fault should have been detected and remedied. As this is not the case fault-tracing has failed.
Exit fault-tracing for this diagnostic trouble code (DTC) or make another attempt.

Do you want to exit fault-tracing?

Yes - Exit fault-tracing

No - Attempt New Test

------------------------

Attempt New Test - Checking connector, wiring and components

-------------------------------------------------