Curiosii for ever!: Car repair manuals for everyone.

Specifications, Mechanical






Specifications, mechanical

Note! The illustrations in this service information are used for different model years and / or models. Therefore there may be some variation. However, the essential information in the illustrations is always correct.

Engine manufacture number, engine serial number and type





The engine manufacture number and type are stamped on the right side of the cylinder block.
There is also a decal on the timing cover with the engine type, manufacture number and serial number.

Classification of main bearings





The marking is stamped on the cylinder block and crankshaft.






Other general data






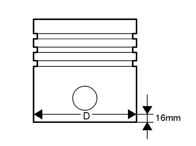
Pistons



















Piston rings




Upper compression ring 0.030-0.070 mm
Lower compression ring 0.030-0.070 mm
Oil scraper ring 0.038-0.142 mm
Upper compression ring 0.050-0.090 mm
Lower compression ring 0.030-0.070 mm
Oil ring 0.020-0.060 mm
Upper compression ring 1.20 mm
Lower compression ring 1.50 mm
Oil ring.2.50 mm
Upper compression ring 1.20 mm
Lower compression ring 1.75 mm
Oil ring 3.00 mm
B6284T 23.0 ± 0.004 mm
B6294S 21.0 ± 0.004 mm

Valves





























Inlet and exhaust 1.5 mm
Minimum height after grinding 1.2 mm
Inlet 44.5°
Exhaust 44.5°




Valve stem height 48.5 ± 0.4 mm
Maximum machining of the valve stem 0.4 mm

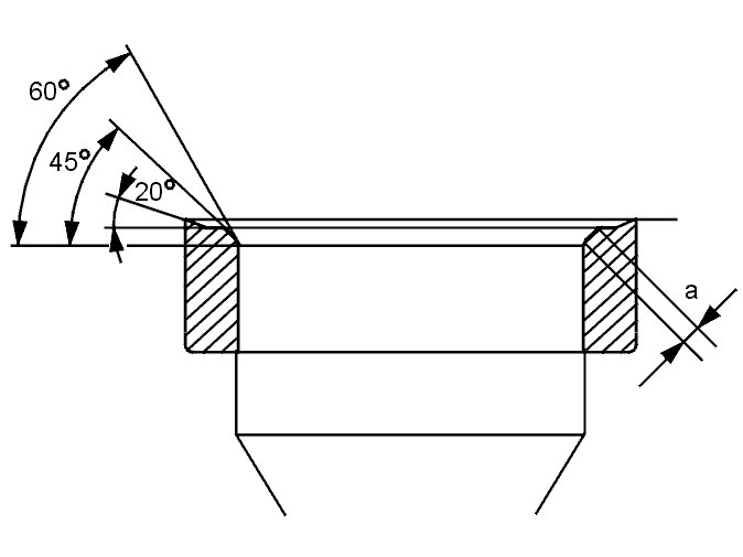
Valve seats




Angles:
Inlet and exhaust matching surface angles 45°
Upper reduction angle 20°
Lower reduction angle 60°
Valve seat width (a)
Inlet 1.4-1.8 mm
Exhaust 1.8-2.2 mm

Tappets




External diameter (A) 32 +0.025/-0.041 mm.
External height (B) 26 ± 0.5 mm.
Clearance, top of tappets
Unloaded (C1) min 18.40/max 20.40 mm.
Compressed (C2) 16.35 +0.25/-0.10

Valve springs






Valve guides




Inlet and exhaust 0.03-0.06 mm
Inlet and exhaust 0.15 mm

Camshafts






Cylinder head




Front-rear 0.50 mm
Lateral 0.20 mm
Cylinder head height 129.0 ± 0.05
Maximum machining 0.30 mm

Caution! Scratches and corrosion to the cylinder head gasket face should only be machined on a flat cylinder head.

Cylinder bore diameter










Crank mechanism




Main bearing journal radial run out maximum 0.040 mm
Axial play (Measured in the engine with the intermediate section tightened) 0.08-0.19 mm
Main bearing journal radial runout 0.020-0.043 mm




Diameter(1) 50.000 ± 0.016 mm
Bearing recess width 26.0 ± 0.1 mm
Maximum out-of-round 0.004 mm
Maximum taper 0.004 mm
(1)The variation in diameter for each bearing journal must not exceed 0.008 mm.
Diameter(1) 65.000 +0.003/-0.016 mm
Axial bearing width dimension 26.00 ± 0.04 mm
Maximum out-of-round 0.004 mm
Maximum taper 0.004 mm
(1)The variation in diameter for each bearing journal must not exceed 0.008 mm.




Bearing end diameter, big end 53.00 +0.013/-0 mm
Maximum ovality 0.006 mm

Engine oil
Oil volume, including filter 7.2 liters
According to API Service lowest SG
According to CCMC class G4/G5.
According to ACEA class A2/A3.
12.5 r/s (750 r/min) 0.10 MPa(1)
67.7 r/s (4000 r/min) 0.3 MPa(1)
Maximum oil pressure (the relief valve opens) 0.65 Map(1)
(1)The oil pressure listed is for an oil temperature of 100°C, which is reached after 10-15 minutes driving.

Marking 90
Starts to open at 90°C
Fully open at 105°C

Fuel line pressure