Curiosii for ever!: Car repair manuals for everyone.

Replacing Control Module Box


Removing

GC1 Removing Air Duct, Filler Pipe, Expansion Tank and Security Strap:




Ignition off.

Remove:
- front air duct to control module box.
- washer reservoir filler pipe.
- expansion tank, pull up.
- control module box security strap.

GC2 Removing Control Modules:




Remove:
- control module box cover, pry out the metal clip using a screwdriver.
- control modules from the control module box.
- front mounting screw.

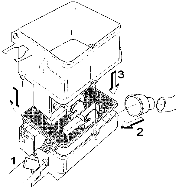
GC3 Removing Middle Section:




Remove:
- middle section of control module box, pry out metal clips (three) using a screwdriver.
- sleeve connector to control module box air intake.

Lift up control module holder with the cable duct to release it from the clips.

GC4 Disconnecting Connector:




Remove:
- connector at the bottom of the control module box.
- screws for the clamp on the side of the control module box.

Pull up cable on the side of the control module box.

GC5 Removing Lower Section of Control Module Box:




Remove:
- rear mounting screw.
- lower section of the control module box backwards to release it from the metal tab at the front edge of the control module box.
- clamp for the cable at the side of the control module box.

Installing:

GC6 Installing Lower Section of Control Module Box:




Install:
- clamp for the cable at the side of the control module box.
- lower section of the control module box, insert the front edge under the metal tab.
- rear mounting screw.

GC7 Installing Connector:




Install:
- connector at the bottom of the control module box.
- cable on the side of the control module box.
- screws to the clamp in the side of the control module box.

GC8 Installing Middle Section:




Install:
- control modules holder, ensure that the clips engage.
- cable duct, locate in control module box slot.
- sleeve connector to control module box air intake.
- middle section to control module box.

NOTE: Check that the middle and lower sections of the control module box are sealed and that the clips are properly engaged.

GC9 Installing Control Modules:




Install:
- front mounting screw.
- control modules.
- control module box cover, ensure that the clips engage.

GC10 Installing Filler Pipe, Air Duct, Expansion Tank and Security Strap:




Install:
- control module box security strap according.
- washer reservoir filler pipe.
Check that the filler pipe does not leak where it connects with the washer reservoir.
- front air duct to control module box.
- expansion tank.