Curiosii for ever!: Car repair manuals for everyone.

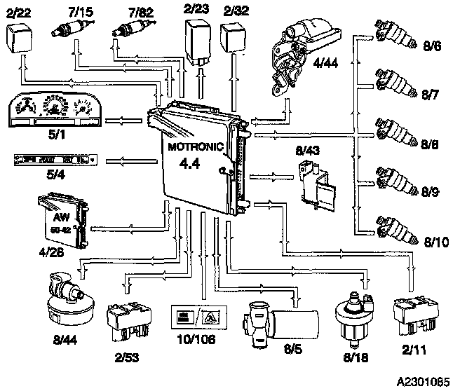
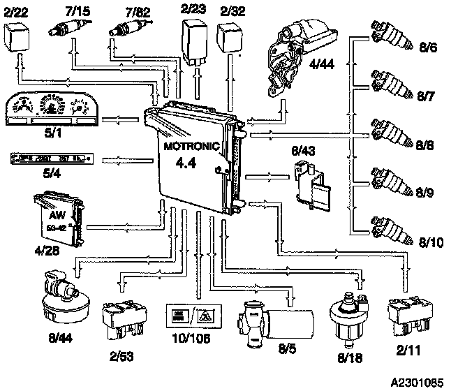
Engine Control Module: Description and Operation

SYSTEM OVERVIEW





The Motronic 4.4 is an Electronic Fuel / Ignition Engine Management System which controls:

^ Fuel Injection
^ Ignition
^ Engine Idle Speed
^ Engine Cooling Fan (FC)
^ Evaporative Emission (EVAP) System
^ A/C System
^ Pulsed Secondary Air Injection System (PAIR)

The Engine Control Module (ECM) incorporates microprocessor which receives signals from the various sensors in the car. The micro-processor uses a program to compute the necessary engine management functions.

The Engine Control Module incorporates adaptive functions, which enable it to adjust its computations continuously to suit running conditions.

Efficient engine management maintains low exhaust emissions. Since CO content and idling speed do not require adjustment, service requirement is minimal.

The Engine Control Module also incorporates an On-Board Diagnostic (OBD) function. Signals from sensors, and the operation of the Three-Way Catalytic Converter (TWC) and EVAP system are continuously monitored. If possible the engine control module (ECM) will adopt fixed substitute values (limp-home values) to enable the car to be driven if certain signals are faulty or missing.

Substitute values can be adopted for:

- Engine Coolant Temperature (ECT) Sensor
- Throttle Position (TP) Sensor
- Heated Oxygen Sensors (HO2S)
- Mass Air Flow (MAF) Sensor

Faults are recorded in the Engine Control Module memory in the form of Diagnostic Trouble Codes (DTCs). Information can be read-off using the Volvo Scan Tool (ST) connected to the Data Link Connector (DLC) in front of the gear shift and under the coin tray on the center console.

The Engine Control Module is housed in a ventilated box in the engine compartment.

INPUT SIGNALS





The Engine Control Module receives signals describing running conditions from the following components:

^ Engine speed and crankshaft position, from the Engine Speed (RPM) Sensor at the flywheel (7/25)
^ Working cycle in cylinders, from the Camshaft Position (CMP) Sensor (7/21)
^ Engine load, from the Mass Air Flow (MAF) Sensor (7/17)
^ Engine temperature, from the Engine Coolant Temperature (ECT) Sensor (7/16)
^ Throttle angle, from the Throttle Position (TP) Sensor (7/54)
^ Oxygen content of the exhaust gases upstream of the catalytic converter, from the front Heated Oxygen Sensor (HO2S) (7/15)
^ Oxygen content of the exhaust gases downstream of the catalytic converter, from the rear Heated Oxygen Sensor (HO2S) (7/82)
^ Engine knock (if present), from the two Knock Sensors (KS) (7/23 and 7/24)
^ Vehicle speed, from the Combined Instrument Panel (5/1)
^ Imminent gear-shifting, from the Automatic Transmission Control Module (TCM) (4/28) (automatics only)
^ Gear selector lever in Park/Neutral or DRIVE position, from the Automatic Transmission Control Module (TCM) (4/28)
^ Request to light the Malfunction Indicator Lamp (MIL) from the Automatic Transmission Control Module (TCM) (4/28)
^ Vertical acceleration of the car from the Accelerometer (7/79) to determine if the car is being driven on an uneven road, misfire diagnostic
^ If A/C is selected, from the A/C system Control Panel (3/54) A/C compressor ON signal, from the Pressure Switch (Pressostat) (7/53)
^ Pressure in the A/C unit, from the A/C Pressure Sensor (7/8)
^ Pulsed Secondary Air Injection System (PAIR) Pump Valve (8/43)
^ Fuel tank pressure from the Fuel Tank Pressure Sensor (7/84).

CONTROL FUNCTIONS





The Engine Control Module controls the following components and functions on the basis of these input signals:

^ Main relay (2/32)
^ Fuel pump, by activating the Fuel Pump Relay (2/23)
^ Fuel injection, by operating the Injectors (8/6-8/10) individually
^ Ignition, by transmitting signals to the Ignition Discharge Module (IDM) integrated with the Ignition Coil (4/44)
^ Idling speed, by operating the Idle Air Control (IAC) Valve (8/5)
^ Pressure in the inlet manifold during engine braking by regulating the Idle Air Control (IAC) Valve (8/5)
^ Engine cooling fan, by activating the Fan Control (FC) Relay (2/11)
^ EVAP System Canister Purge (CP) Valve (8/18)
^ Malfunction Indicator Lamp (MIL) (10/106) for exhaust emission related faults
^ Heating of front and rear Heated Oxygen Sensors (HO2S) (7/15 and 7/82)
^ A/C Compressor Relay (2/22), to switch off the compressor.
^ EVAP Canister Shut-Off Valve (8/44)
^ Pulsed Secondary Air Injection System (PAIR) Pump, by activating the Pulsed Secondary Air Injection System (PAIR) Pump Relay (2/53).

OTHER OUTPUT SIGNALS





The Engine Control Module also transmits signals to the following components:

^ Acknowledgment of torque limiting through timing retardation, to the Automatic Transmission Control Module (TCM) (4/28)
^ Engine speed and load signals to the Automatic Transmission Control Module (TCM) (4/28)
^ Throttle angle signal to the Automatic Transmission Control Module (TCM) (4/28)
^ Engine Speed (RPM) Signal to the Combined Instrument Panel Tachometer (5/1)
^ Engine Coolant Temperature (ECT) Signal to the Combined Instrument Panel (5/1)
^ Injected fuel quantity to the Combined Instrument Trip Computer (5/4)