Communication Problems
Starting the Engine
- Does the engine start?
If reading is OK:
^ Proceed to: Checking Power Supply section below.
If reading is incorrect:
^ Proceed to: Checking Immobilizer section below.
Checking Power Supply
- Ignition ON.
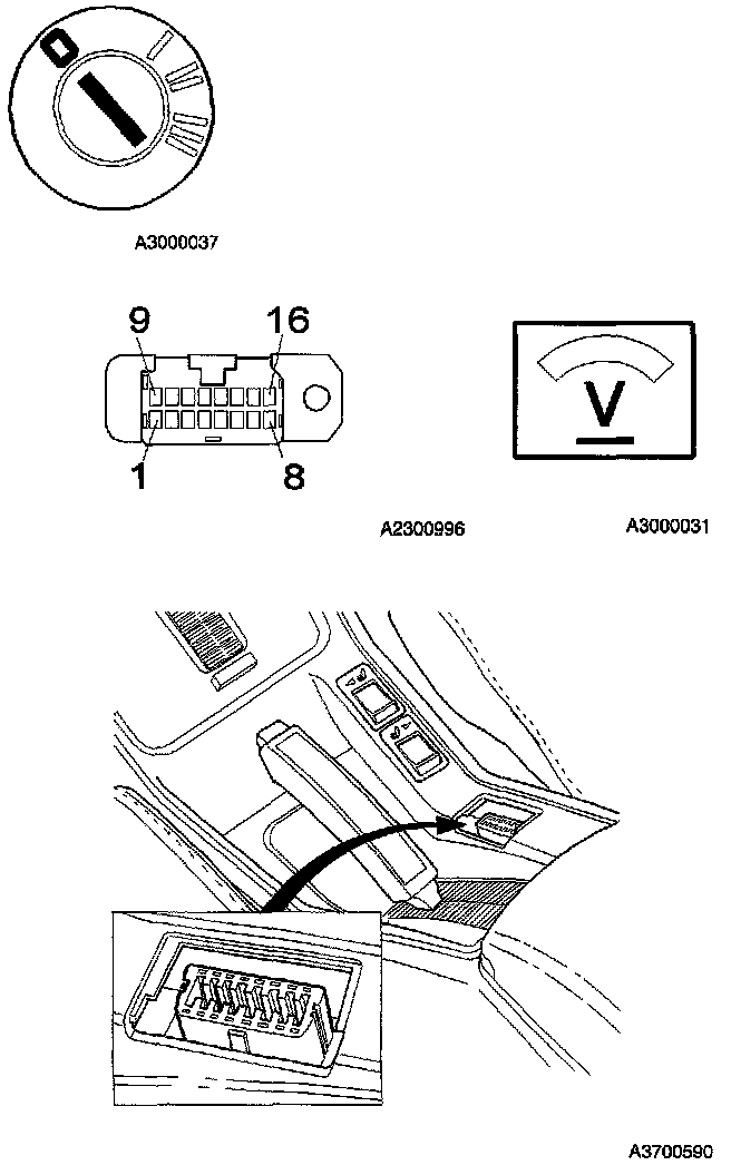
- Volvo Scan Tool (ST) connected to data link connector (DLC).
- Power up the Volvo Scan Tool and check that the display lights up.
- Does the display light?
Yes:
^ Proceed to: Checking Communication Cable to Data Link Connector section below.
No:
^ Proceed to: Checking Data Link Connector Power Supply section below.
Checking Data Link Connector Power Supply
- Ignition OFF.
- Disconnect the Volvo Scan Tool.
- Disconnect the data link connector.
- Connect a voltmeter between data link connector terminal 16 and ground.
- The voltmeter should read battery voltage.
If reading is OK:
^ Proceed to: Checking Data Link Connector Power Ground section below.
If reading is incorrect:
^ Proceed to: Checking Fuse 14 section below.
Checking Fuse 14
- Check that fuse 14 (11C/14) is intact.
- Is the fuse intact?
Yes:
^ Proceed to: Checking Voltage Before the Fuse section below.
No:
^ Check cable between data link connector terminal 16 and fuse 14 (11C/14) for a short-circuit to ground.
Checking Voltage Before the Fuse
- Ignition OFF.
- Connect a voltmeter between the rear output on the fuse holder for fuse 14 (11C/14) and ground.
- The voltmeter should read battery voltage.
If reading is OK:
^ Check cable between fuse 14 and data link connector terminal 16 for an open-circuit.
If reading is incorrect:
^ Check the cable between fuse 14 and battery positive terminal for an open-circuit.
Checking Data Link Connector Power Ground
- Ignition OFF.
- Connect ohmmeter between data link connector terminal 4 and ground.
- The ohmmeter should read approx. 0 ohms.
If reading is OK:
^ Proceed to: Checking Data Link Connector Signal Ground section below.
If reading is incorrect:
^ Check cable between data link connector terminal 4 and ground terminal (31/67) by the right-hand seat support for an open-circuit.
Checking Data Link Connector Signal Ground
- Ignition OFF.
- Connect ohmmeter between data link connector terminal 5 and ground.
- The ohmmeter should read approx. 0 ohms.
If reading is OK:
^ Proceed to: Checking Supply Voltage to Adapter Box section below.
If reading is incorrect:
^ Proceed to: Checking Wiring and Connections - Permanent Fault.
Checking Supply Voltage to Adapter Box
- Ignition ON.
- Volvo Scan Tool connected to data link connector.
- Separate Volvo Scan Tool wiring at the adapter box.
- Connect a voltmeter between 25-pin connector terminal:
- 15 (data link connector side) and ground
- 20 (data link connector side) and ground
- 21 (data link connector side) and ground
- 22 (data link connector side) and ground
- The voltmeter should read battery voltage for all readings.
If reading Is OK:
^ Proceed to: Checking Power Ground to Adapter Box section below.
If reading is incorrect:
^ Try new Volvo Scan Tool wiring.
Checking Power Ground to Adapter Box
- Ignition OFF.
- Connect Volvo Scan Tool wiring to data link connector.
- Disconnect Scan Tool wiring from adapter box.
- Connect an ohmmeter between the 2 pin connector terminal:
- 23 (data link connector side) and ground
- 24 (data link connector side) and ground
- 25 (data link connector side) and ground
- The ohmmeter should read 0 ohms for all readings.
If reading is OK:
^ Proceed to: Checking Adapter Box Signal Ground section below.
If reading is incorrect:
^ Try new Volvo Scan Tool wiring.
Checking Adapter Box Signal Ground
- Ignition OFF.
- Connect Volvo Scan Tool wiring to data link connector.
- Disconnect Scan Tool wiring from adapter box.
- Connect an ohmmeter between the 2-pin connector terminal 14 (data link connector side) and ground.
- The ohmmeter should read 0 ohms.
If reading is OK:
^ Proceed to: Checking Voltage to Volvo Scan Tool section below.
If reading is incorrect:
^ Try new Volvo Scan Tool wiring.
Checking Voltage to Volvo Scan Tool
- Ignition ON.
- Connect Volvo Scan Tool wiring to data link connector.
- Connect Scan Tool to adapter box.
- Disconnect 3-pin connector from the Volvo Scan Tool.
- Check that the switch on the adapter box is ON.
- Connect a voltmeter between 3-pin connector terminal:
- 1 (data link connector side) and ground
- 3 (data link connector side) and ground
- The voltmeter should read: - 1 and ground: 7-9 Volts, - 3 and ground: battery voltage.
If reading is OK:
^ Proceed to: Checking Volvo Scan Tool Ground section below.
If reading is incorrect:
^ Try a new adapter box.
Checking Volvo Scan Tool Ground
- Ignition OFF.
- Connect Volvo Scan Tool wiring to data link connector.
- Disconnect 3-pin connector from Volvo Scan Tool.
- Connect an ohmmeter between the 3-pin connector terminal 2 (data link connector side) and ground
- The ohmmeter should read 0 ohms.
If reading is OK:
^ Try a new Volvo Scan Tool.
If reading is incorrect:
^ Try a new adapter box.
Checking Communication Cable to Data Link Connector
- Disconnect the Volvo Scan Tool from the data link connector.
- Connect the breakout box and check ground terminals.
- Ignition OFF.
- Connect an ohmmeter between data link connector (DLC) terminal 7 and breakout box terminal # 36 (B36).
- The ohmmeter should read 0 ohms.
If reading is OK:
^ Proceed to: Checking the Communication Cable section below.
If reading is incorrect:
^ Check cable between data link connector terminal 7 and engine control module # B36 for an open-circuit.
Checking the Communication Cable
- Connect the engine control module.
- Ignition ON.
- Connect a voltmeter between data link connector terminal 7 and ground.
- The voltmeter should read approx. 9 - 11 Volts.
If reading is OK:
^ Proceed to: Checking Communication Cable to Adapter Box section below.
If reading is incorrect:
^ Check cable between data link connector terminal 7 and control modules connected to this cable for a short-circuit to ground.
If reading is OK:
^ Check cable between data link connector terminal 7 and the control modules connected to this cable for a short-circuit to supply voltage.
Checking Communication Cable to Adapter Box
- Ignition ON.
- Connect Volvo Scan Tool wiring to data link connector.
- Separate Volvo Scan Tool wiring at the adapter box.
- Connect an ohmmeter between the 25-pin connector terminal 5 (data link connector side) and ground.
- The voltmeter should read 9 - 11 Volts.
If reading is OK:
^ Proceed to: Checking Communication with the Volvo Scan Tool section below.
If reading is incorrect:
^ Try new Volvo Scan Tool wiring.
Checking Communication with the Volvo Scan Tool
- Ignition ON.
- Connect Volvo Scan Tool wiring to data link connector.
- Connect Volvo Scan Tool wiring to the adapter box.
- Disconnect 62-pin connector from the Volvo Scan Tool.
- Check that the switch on the adapter box is ON. Connect a voltmeter between the 62-pin connector terminal 47 (Volvo Scan Tool side) and ground.
- Try to establish communication with the Motronic 4.4 engine control module.
- Voltage should be approx 8.6 Volts, it should then start to oscillate rapidly between 8.6 Volts and 0 Volts as the Volvo Scan Tool tries to establish contact.
If reading is OK:
^ Try a new adapter box.
If reading is incorrect:
^ Try a new Volvo Scan Tool.
Checking Immobilizer
- If there is a fault in the immobilizer the Motronic 4.4 engine control module may not be permitted to start. It is important to check that the immobilizer is free of faults before continuing this fault-tracing.
- Check appearance of ignition key to determine whether the car has an immobilizer.
- Key 1: the car has an immobilizer.
- Key 2: the car does not have an immobilizer.
If reading is OK:
^ Proceed to: Checking Diagnostic Trouble Codes in the Immobilizer section below.
If reading is incorrect:
^ Proceed to: Checking 30-supply section below.
Checking Diagnostic Trouble Codes in the Immobilizer
- Ignition ON.
- Check for diagnostic trouble codes stored in the immobilizer.
- If the immobilizer has been checked and remedied but the engine still does not start: Select 1.
- If communication cannot be established with the immobilizer: Select 2.
- If there are diagnostic trouble codes stored in the immobilizer: Select 3.
- If there are no diagnostic trouble codes stored in the immobilizer: Select 4.
- Select a suitable alternative.
Alternative 1:
^ Proceed to: Checking 30-supply section below.
Alternative 2:
^ Fault-trace the immobilizer.
Alternative 3:
^ Fault-trace the immobilizer.
Alternative 4:
^ Proceed to: Checking 30-supply section below.
Checking 30-supply
- Connect the breakout box and check ground terminals.
- Connect engine control module.
- Power ON.
- Connect a voltmeter between # 42 (# A42) and # 26 (# A26) on the breakout box.
- Does the voltmeter read battery voltage?
If reading is OK:
^ Proceed to: Checking 15-supply From Ignition Switch section below.
If reading is incorrect:
^ Proceed to: Checking Fuse 1 section below.
Checking Fuse 1
- Check that fuse 1(11B/1) is intact.
- Is fuse 1 (11B/1) intact?
Yes:
^ Proceed to: Checking 30-supply to Fuse 1 section below.
If reading is incorrect:
^ Check circuit after fuse for a short-circuit to ground.
Checking 30-supply to Fuse 1
- Ignition OFF.
- Fuse 1 (11B/1) removed.
- Connect a voltmeter between the rear socket on the fuse holder for fuse 1(11B/1) and ground.
- Does the voltmeter read battery voltage?
Yes:
^ Check cable between fuse 1 and engine control module # A26 for an open-circuit.
No:
^ Proceed to: Checking Main Fuse 4 section below.
Checking Main Fuse 4
- Ignition OFF.
- Check that main fuse 4 (11A/4) is intact.
- Is main fuse 4 (11A/4) intact?
Yes:
^ Proceed to: Checking 3-supply to Main Fuse section below.
If reading is incorrect:
^ Check circuit after main fuse 4 for a short-circuit to ground.
Checking 3-supply to Main Fuse
- Ignition OFF.
- Connect a voltmeter between rear terminal pin on main fuse 4 (11A/4) fuse holder and ground.
- Does the voltmeter read battery voltage?
Yes:
^ Check cable between main fuse 4 and fuse 1 for an open-circuit.
No:
^ Check cable between battery positive terminal and main fuse 4 for an open-circuit.
Checking 15-supply From Ignition Switch
- Ignition ON.
- Connect a voltmeter between # 42 (# A42) and # 12 (# A12).
- Does the voltmeter read battery voltage?
Yes:
^ Proceed to: Checking Voltage from Main Relay section below.
No:
^ Proceed to: Checking Ignition Switch section below.
Checking Ignition Switch
- Ignition ON.
- Disconnect the connector from the ignition switch.
- Turn ignition switch to II.
- First connect an ohmmeter between ignition switch terminals 15 and 30 and then between ignition switch terminal 15 and the other ignition switch terminal 30.
- Does the ohmmeter read approx. 0 ohms in both cases?
Yes:
^ Proceed to: Checking Voltage to Ignition Switch section below.
No:
^ Try a new ignition switch.
Checking Voltage to Ignition Switch
- Ignition OFF.
- Disconnect ignition switch connector.
- First connect a voltmeter between ignition switch connector terminal 30 and ground and then between the other ignition switch terminal 30 and ground.
- Does the voltmeter read battery voltage in both cases?
Yes:
^ Check cable between ignition switch terminal 15 and engine control module # A12 for an open-circuit.
If reading is incorrect:
^ Check cable between fuse 1 and ignition switch terminal 30 for an open-circuit.
Checking Voltage from Main Relay
- Ignition ON.
- Connect a voltmeter between # 42 (# A42) and # 27 (# A27) on the breakout box.
- Does the voltmeter read battery voltage?
Yes:
^ Check all signals to and from engine control module.
No:
^ Proceed to: Checking Fuse 5 section below.
Checking Fuse 5
- Ignition OFF.
- Check that fuse 5 (11B/5) is intact.
- Is fuse 5 (11B/5) intact?
Yes:
^ Proceed to: Checking Voltage to Fuse 5 section below.
If reading is incorrect:
^ Check circuit after main fuse 4 for a short-circuit to ground.
Checking Voltage to Fuse 5
- Ignition ON.
- Fuse 5 (11B/5) removed.
- Connect a voltmeter between the rear socket on the fuse holder for fuse 5 (11B/5) and ground.
- Does the voltmeter read battery voltage?
Yes:
^ Check cable between fuse 5 (11B/5) and engine control module # A27 for an open-circuit.
If reading is incorrect:
^ Proceed to: Checking Voltage to Main Relay Terminal 2 section below.
Checking Voltage to Main Relay Terminal 2
- Ignition OFF.
- Disconnect main relay (2/32) from relay base.
- Connect a voltmeter between relay base terminal 2 and ground.
- Connect a voltmeter between relay base terminal 2 and ground.
- Does the voltmeter read battery voltage?
Yes:
^ Proceed to: Checking Voltage to Main Relay Terminal 1 section below.
If reading is incorrect:
^ Check cable between main fuse 4 and main relay terminal 2 for an open-circuit.
Checking Voltage to Main Relay Terminal 1
- Ignition OFF.
- Main relay disconnected.
- Connect a voltmeter between relay base terminal 1 and ground.
- Does the voltmeter read battery voltage?
Yes:
^ Proceed to: Checking Control Signal to Main Relay section below.
No:
^ Check cable between main fuse 4 and main relay terminal 1 for an open-circuit.
Checking Control Signal to Main Relay
- Ignition ON.
- Main relay disconnected.
- Connect a voltmeter between relay base terminal 4 and battery positive terminal.
- Does the voltmeter read battery voltage?
If reading is OK:
^ Proceed to: Checking Main Relay section below.
If reading is incorrect:
^ Check cable between main fuse 4 and engine control module # A41 for an open-circuit.
Checking Main Relay
- Ignition ON.
- Connect main relay to relay base.
- Does the relay click when it is connected to the relay base?
Yes:
^ Check cable between main relay terminal 4 and fuse 5 for an open-circuit.
No:
^ Try a new main relay.