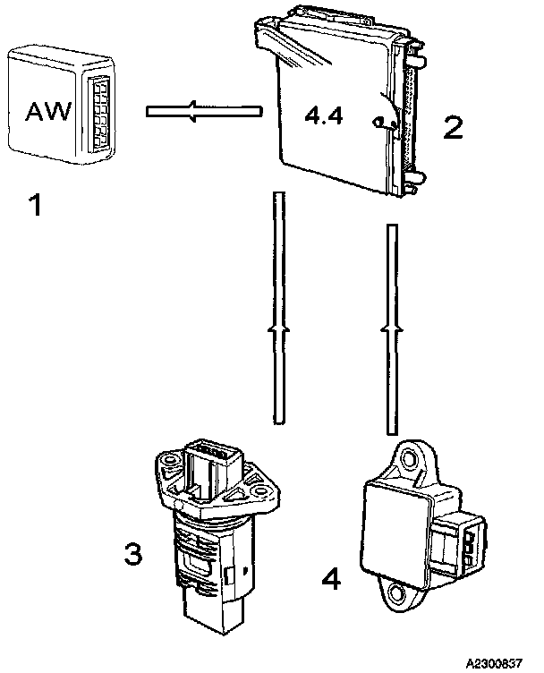
Transmission Control Module
The Transmission Control Module (1) receives the following information from the Engine Control Module (2):
^ Engine load from the mass air flow (MAF) sensor (3).
^ Throttle angle from the throttle position (TP) sensor (4).
The transmission control module uses this information to calculate gear shifting.