Curiosii for ever!: Car repair manuals for everyone.

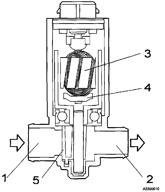
Idle Air Control Valve





The idle air control valve has a linear function.

The valve consists of the following components:

^ Inlet (1)
^ Outlet (2)
^ Rotor (3)
^ Permanent magnet (4)
^ Valve (5).

The idle air control valve rotor (3) is equipped with an opening and a closing coil, and with a permanent magnet (4). The engine control module transmits pulsed ground signals to both coils. Depending on the character of these control signals the rotor drives a valve (5) which controls the air low to outlet (2).