Curiosii for ever!: Car repair manuals for everyone.

F11 Checking the Receiver Module Signal Pulse




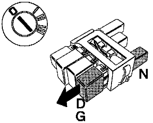
Switch ignition off.
Remove central locking relay D/G.








Connect a voltmeter between position ATR on relay base D and position 31 on relay base N.





Press the LOCK keys on all the transmitters and check for a reading on the voltmeter.
The voltmeter should give a reading (showing a pulse more than 0 volts).

If reading is correct:
Replace the central locking relay and test all transmitters by pressing the LOCK and UNLOCK keys.
Check central locking system activation. If the central locking system does not activate continue to step F13. F13 Checking Receiver Module

If reading is correct: Go to step F12. F12 Checking Transmitter