Curiosii for ever!: Car repair manuals for everyone.

With Federal Emissions (Emissions Code D3)





CONTROL OF IDLE AIR CONTROL VALVE

Overview
The ECM exercises control of the Idle Air Control (IAC) Valve for two reasons, firstly to maintain a constant idling speed regardless of load and, secondly, to supply air to the engine under braking conditions. The ECM computes the output signals to the IAC valve using information from:

^ Throttle Position (TP) Potentiometer (1)
^ Engine Coolant Temperature (ECT) Sensor (2)
^ Engine Speed (RPM) Sensor (3)
^ Pressostat (4)
^ Combined instrument, Vehicle Speed Signal (VSS) (6)
^ Information from the Transmission Control Module (TCM) (5) regarding the gear selector position is also taken into account.

IAC Valve Control - Idle Air Trim
The TP potentiometer supplies the ECM with a signal describing the throttle opening. Since the potentiometer does not have a fixed idling position, the ECM incorporates an adaptive function which stores the lowest value recorded and interprets this as Closed Throttle Position (idling). Wide Open Throttle is computed as a fixed angle from Closed Throttle Position (CTP).

When the TP potentiometer signals CTP and the engine is idling, the ECM adjusts the IAC valve so that the engine runs at the correct idling speed, regardless of engine temperature or load. To enable the module to quickly adjust idling speed when the engine load varies, it is supplied with information on A/C compressor operation and, by the TCM, on when a drive gear is selected. Under these conditions, the air flow through the IAC valve is increased momentarily to raise the idling speed. The same principle is used when the ECM operates the engine cooling fan.

Control of the idling speed by the ECM offers the following advantages:

^ The idling speed does not require adjustment (for example, due to aging or fouling of components).

^ A low idling speed and, as a result, a low fuel consumption is achieved by continuous compensation for changes in load.

The ECM idling control function is adaptive (i.e. self- learning). The control module learns how open the IAC valve should be so as to achieve the correct idling speed. This information is stored and used when the engine is started again. The function, called idle air trim, eliminates the need for an idling speed adjusting screw.

In the event of an IAC valve control fault, the valve will assume a higher or lower idling speed than normal, depending on the cause.

Engine Braking

Under engine braking conditions and at CTP, the ECM controls the IAC valve so that air is supplied to the engine to:

^ maintain the vacuum in the intake manifold at a permissible level;

^ improve the quality of combustion and, as a result, that of the exhaust emissions;

^ control the engine braking torque and, as a result, the rate at which the engine speed is permitted to fall.





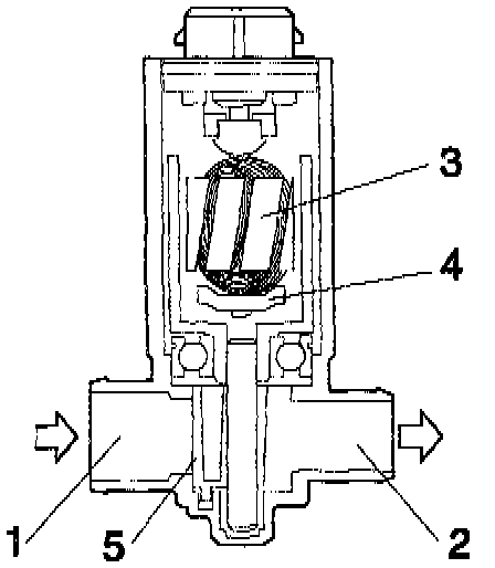
IAC Valve

The IAC valve is of a new type with a linear characteristic, The valve consists of the following components:

^ Inlet (1)
^ Outlet (2)
^ Rotor (3)
^ Permanent magnet (4)
^ Valve head (5)





The valve rotor (3) is equipped with an opening and a closing coil, and with a permanent magnet (4). The ECM delivers pulsed ground signals to both coils. Depending on the character of the control signals, the rotor operates a rotating valve head (5), which regulates the flow of air through the outlet (2).