Curiosii for ever!: Car repair manuals for everyone.

Campaign - Replacing Microswitch in A/T Gear Selector: Overview

PRODUCT
CARS

GROUP
43

NO.
76

MARKET
U.S., CANADA

DATE
May, 1996

SUBJECT
Replacing microswitch in automatic transmission gear selector mounting

800 1994-1996

REFERENCE:
TP 3701201, SECTION 3 (37), WIRING REPAIRS AND REPLACEMENT CABLE TERMINALS
TP 4305201, SECTION 4 (43), 850 AUTOMATIC TRANSMISSIONS; 850 1992-

Intermittant difficulties moving the shift lever out of "P" (Park) position without using the manual shift lock override may be due to improper contact in the microswitch.





This campaign affects vehicles within the chassis ranges as shown.





A service kit containing a new microswitch, wiring and holder is available.

Material required:

Service Kit

1993-94 9181347-7
1995- 9181348-5

Tools Required:

Wiring repair kit 9814235-9
Wiring repair kit 9512647-0

Preparation

Remove:

- battery negative terminal

Center console

Remove:

- cigarette lighter panel (2 screws)

- blind plug under the parking brake lever

- cover plate in the storage bin.

Remove:

- detach connectors from the center console

- 4 screws and remove center console.

Replacing the Shiftlock microswitch Set the gear shift lever to position P.

Turn ignition key to position I or II.





Detach the Keylock operating cable from the gear shift mounting at the adjuster (1) and the link arm (2).

Separate the solenoid connector (3) and remove from the gear shift mounting.

Set the gear shift to position L. Remove solenoid microswitch:





- remove the solenoid lock catch (1).

- remove the solenoid.

- remove the microswitch clip (3). Press the catches together.

Remove the clip from the microswitch.





Open the secondary locking on the connector

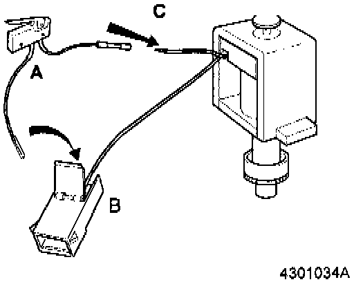
Remove wire (A) from connector (B). Use special tool 981 4230-0.

Cut wire (C) between the microswitch and the solenoid about 30 mm (1-3/16") from the solenoid.

Strip the wire cut from the solenoid back about 5 mm (3/16"). Use special tool 951 2620-7.

Remove the new microswitch from the kit, P/N:

9181347-7 1993-94
9181348-5 1995-

Crimp the stripped cable in the splicing sleeve. Use special tool 951 2656-1, section 1

Refer to service manual 3 (37) Wiring repairs and replacement of cable terminals, 850, 900, section KC.

Shrinking the splice sleeve using a hot air gun





After the splice sleeve has been crimped it must be shrunk using a hot air gun.

The splice sleeve has a filling of glue which flows out of the sleeve and around the cable conductors when heated. The glue and the crimping sleeve ensure that the splice is moisture resistant.

Check the crimp





Check crimped splice, the glue should be visible at either end of the splice sleeve.





Install the new microswitch cable terminal (A) in the solenoid connector.

Close the secondary locking.

Install solenoid with new microswitch in the gear shift mounting.

Gear shift in position L.

Install:





- solenoid. Secure with the locking catch (1).

- mounting clip (3) on the new microswitch

- microswitch.

Install keylock cable:





- move the gear shift to position P

- turn the ignition key to position I or II.

- Install and connect the solenoid connector (3).

- install the operating cable end in the link arm (2) and the cable adjuster (1) in the gear shift mounting.

Install center console

Install:

- screws (4)

- connectors (black, gray)

- cover in storage bin

- blind plug under parking brake lever

- cigarette lighter panel.

Final operations

Install:

- battery negative terminal

Verify key lock and shift lock function.

Enter radio anti-theft code.

Reset clock.

Volvo Cars of North America, Inc. and Volvo Canada Ltd. have determined that certain 1994 to 1996 model years 900 Series and 800 Series vehicles with automatic transmission will require replacement of the shiftlock microswitch. Approximately 115,027 vehicles in the U.S. and 10,943 vehicles in Canada may be affected.

There is a possibility that intermittent difficulties may occur getting the shift lever out of "P" (Park) position without using the manual shift lock release, This may be due to improper contact within the microswitch.





The numbers apply as shown.

An initial allocation representing 30% of the vehicles retailed or in stock at your retail facility will be made starting on or about the week of May 6, 1996. After this one time allocation you may order additional quantities using normal ordering procedures.

Service information concerning this campaign is contained in Service Manager Bulletin, Group 43, No. 5 and Technical Information and Instructions Bulletin Group 43, No. 76.