Curiosii for ever!: Car repair manuals for everyone.

Cruise Control: Locations

Cruise Control Components:




Component Locations

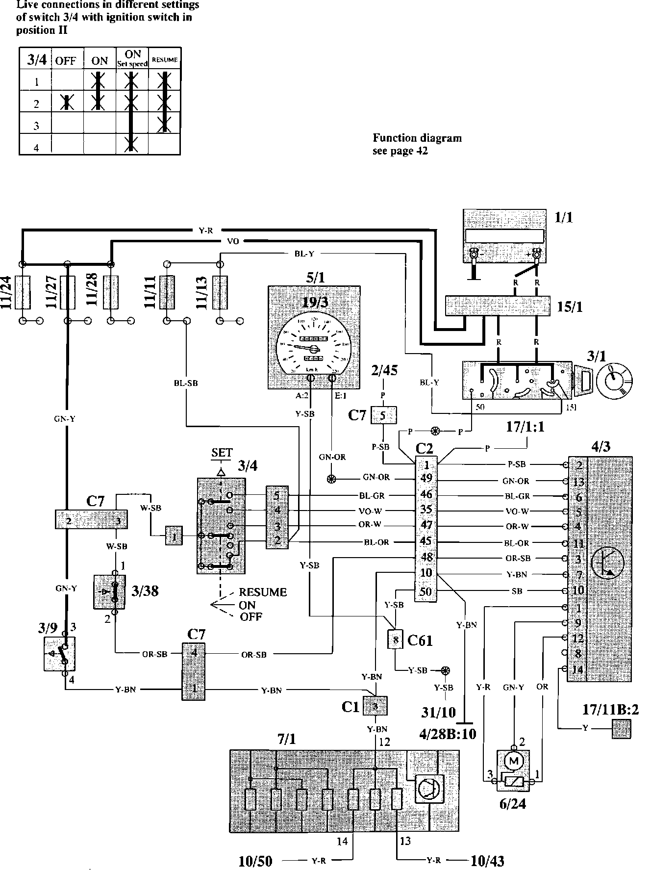
Cruise Control Wiring:




Wiring Diagram

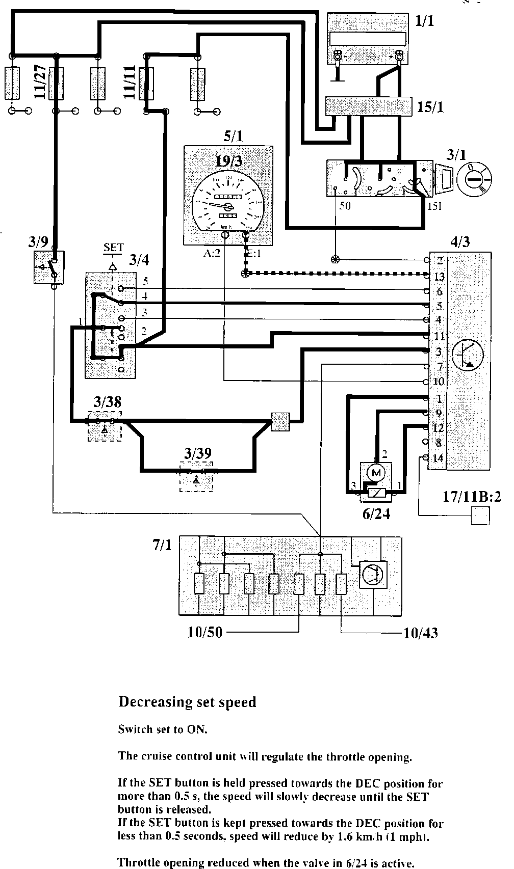
Cruise Control Function (1 of 4):




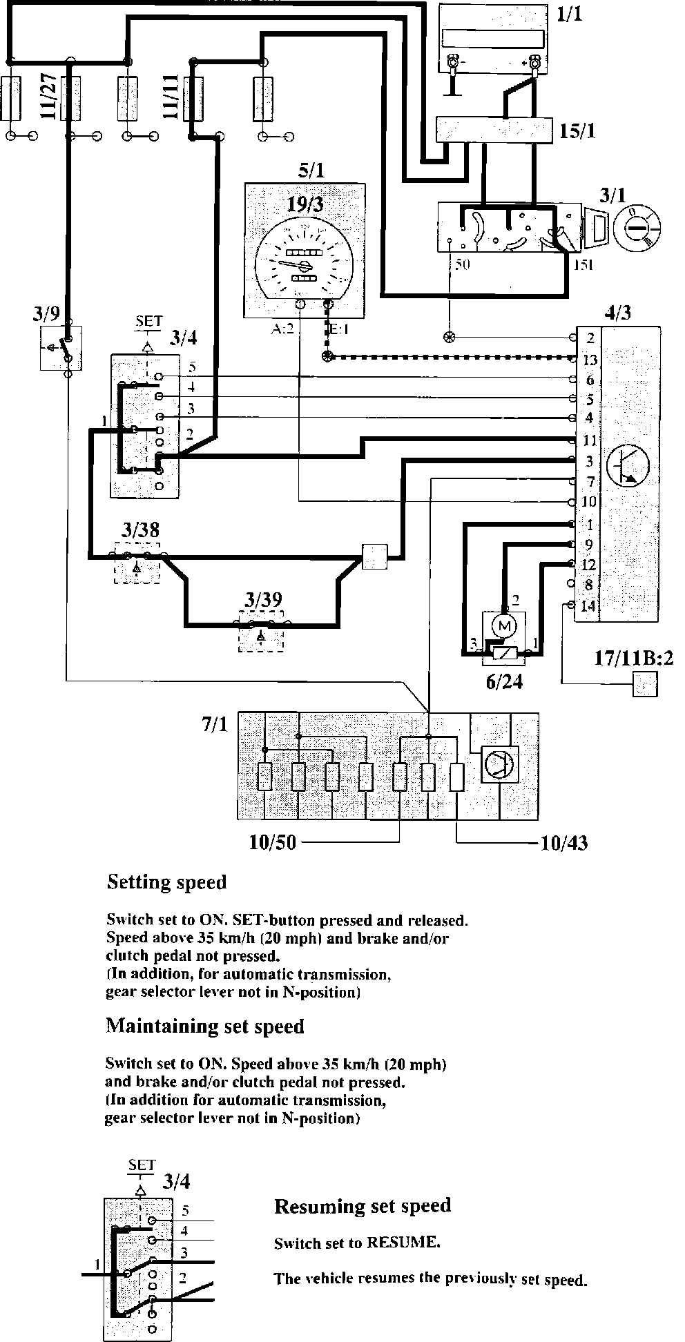
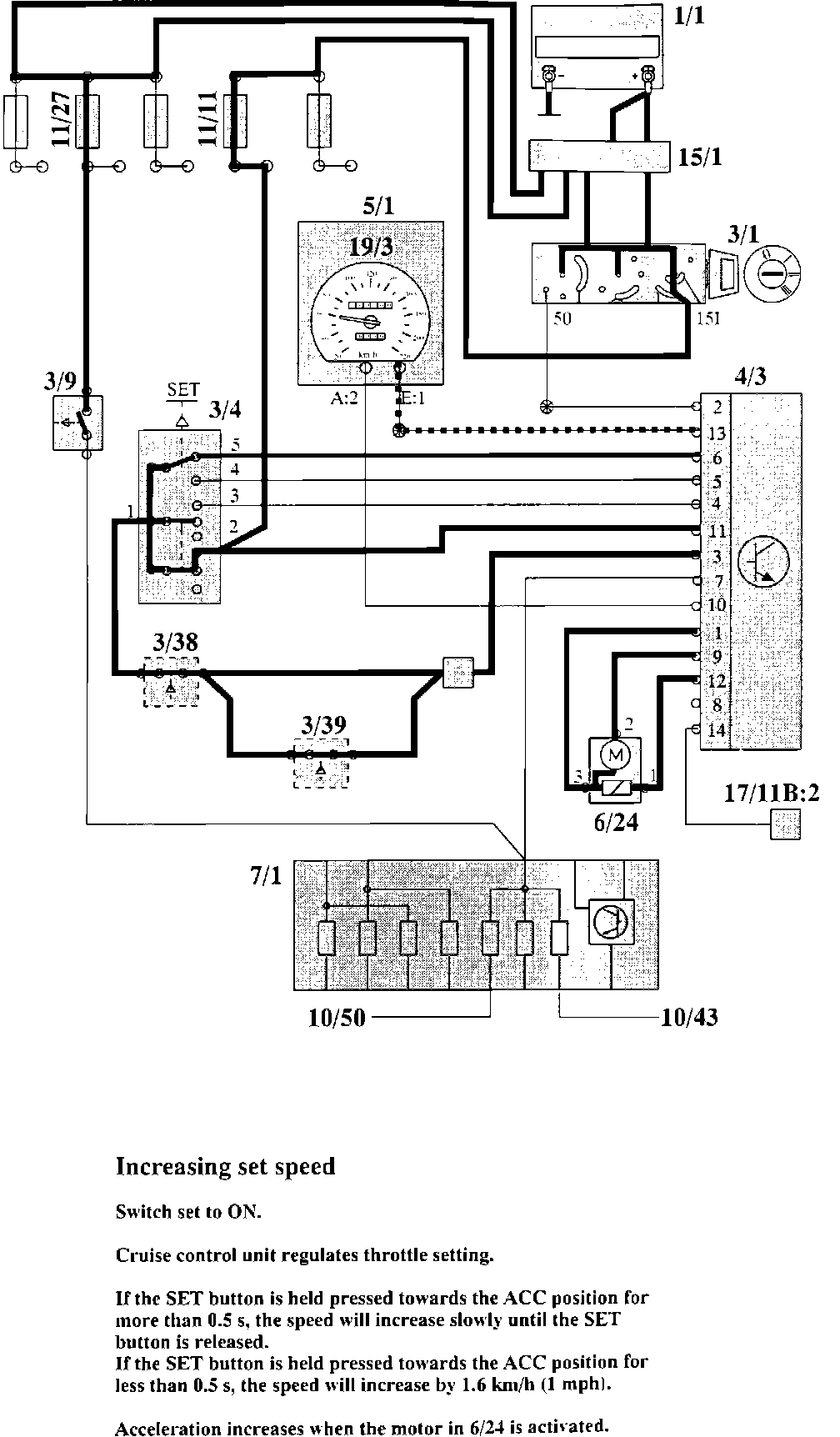
Cruise Control Function (2 of 4):




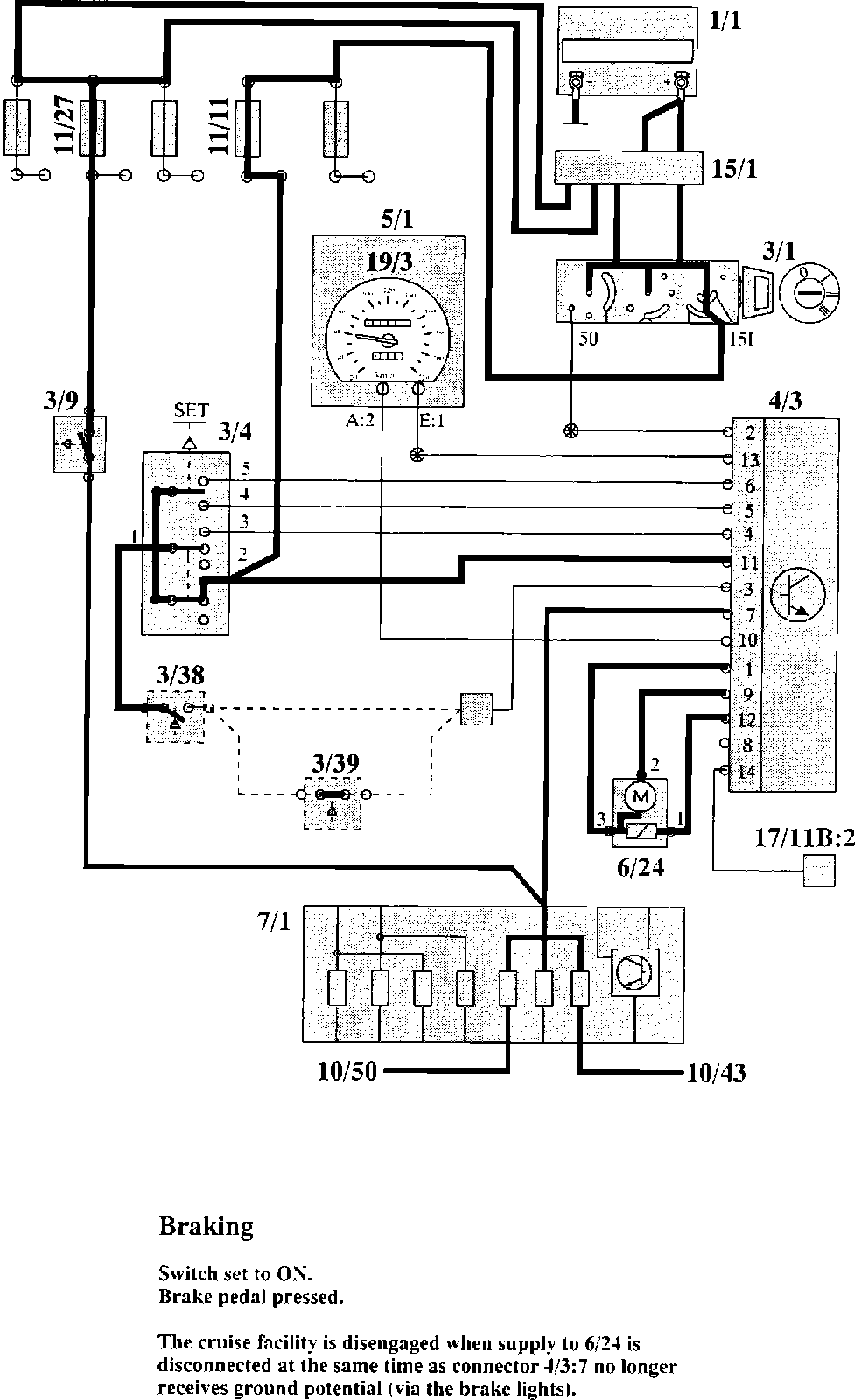
Cruise Control Function (3 of 4):




Cruise Control Function (4 of 4):




Function