Curiosii for ever!: Car repair manuals for everyone.

Electronic Control Systems








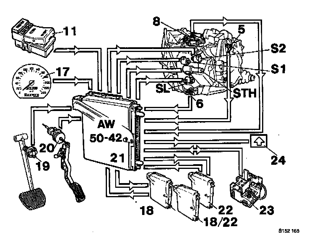
To permit exact determination of the gear-change and lock-up engagement points on the basis of the selected driving mode, the control module receives information concerning the following:

- Selected gear - from gear selection sensor (8).
- Selected driving mode - from the mode selector (11).
- Road speed - from the speedometer (17).
- Transmission input shaft rpm - from engine speed sensor (5).
- Engine rpm and load - the fuel injection system control module (18).
- Throttle opening - from the fuel injection system control module (18).
- Brake pedal operation - from the brake light switch (19).
- Fully depressed accelerator pedal (AP) - from the kick- down switch (20) on the throttle cable.
- Transmission oil temperature - from a temperature sensor (6) in the transmission.

All of this information is processed by the control module (21), which calculates which gear will provide the best driving performance based on the selected driving mode. The control module orders gear-shifts by sending shift signals to two solenoid valves (S1, S2) in the transmission. Depending on the input signals, the control module decides if and when torque converter lock-up, which is engaged with the help of a special solenoid valve (SL), should be activated.

During gear-change, the control module modulates the transmission oil pressure by another solenoid valve (STH), while simultaneously sending a signal to the ignition system (22) so that the engine torque is reduced as gear-changing occurs.

The control module is also connected to the data link connector (DLC) (23). Faults occuring in the electronic system are recorded in the control module memory for subsequent display as diagnostic trouble codes (DTC). If a fault is serious enough to require immediate attention, the warning light (24) on the dashboard flashes.


The gear position sensor (8) provides the control module with information concerning the selected gear.

The vehicle speed signal comes from the speedometer terminal in the combined instrument used for cruise control, among other things. Information concerning the rpm of the toothed impulse wheel comes from the rpm sensor in the transmission.

Information concerning engine rpm and load comes from the fuel injection system control module which also provides information concerning the throttle opening. If the brake pedal is depressed, the brake light switch closes and transmits a signal to the control module.

When the accelerator pedal (AP) is fully depressed, the kickdown switch (20) closes. The control module uses the above signals to calculate the following:

- Slippage in the torque converter, by comparing the engine and transmission rpm. This information serves as the basis for deciding when and how quickly lock-up should be engaged.

- The control module determines the engine power output by comparing information concerning the throttle opening with the values for engine load and rpm. This value then is used to compute gear selection.

- Signals from the brake light switch are used to disengage lock-up in connection with braking in order to avoid jolts in the transmission.