Curiosii for ever!: Car repair manuals for everyone.

Bendix

TESTING PROCEDURE:

NOTE: While trouble shooting, always check the wiring, fuses and connectors for good condition and routing. Use the wiring diagrams found in CHASSIS ELECTRICAL DIAGRAMS to supplement your testing efforts.

Color Code Legend:





Checking ECU Ground Connections:





1. Turn ignition OFF.
2. Access fuel injection ECU by removing the passenger side kick panel and glove compartment.
3. Check fuel injection ECU ground connections. They should make good contact and fit tight.

Removing ECU Connector:





4. Remove fuse #1 (located in central electric unit behind ash tray) to interrupt the power supply. Then remove the ECU connector by pressing up the latch and folding out the wire cluster.

Removing Protective Sleeve:





5. Remove connector protective sleeve and reinstall fuse #1 for testing.
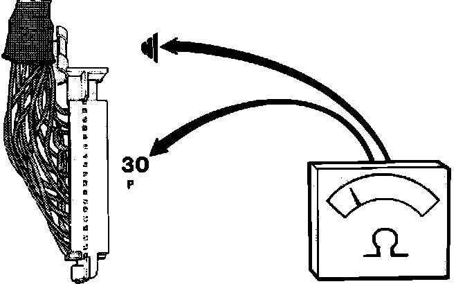
CAUTION: ^ Never check connections from the front. Connectors can get damaged and worsen the problem.
^ Check connections through the holes in the connector.
^ Connection pin numbers are printed on the connector side.

Checking Pin 30:





6. Put gear selector in N (neutral) position.
7. Connect an ohmmeter between ECU connector pins 30 and ground.

Reading: 0 ohm

8. Put gear selector in D (drive) position.

Reading: infinite (0 ohm on vehicles with manual transmission)

9. If switch fails the test, check wiring and connectors. If no fault found in wiring, replace gear selector switch.
10. Disconnect the test equipment. Remove the #1 fuse and reconnect the ECU and all other connectors, install the kick panel and glove compartment. Ensure that the rubber seal in the ECU connector is installed before it is connected to the unit.
11. Reinstall the #1 fuse.