Curiosii for ever!: Car repair manuals for everyone.

Mass Air Flow Sensor (LH-3.1)

TESTING PROCEDURE:

NOTE: While trouble shooting, always check the wiring, fuses and connectors for good condition and routing. Use the wiring diagrams found in ELECTRICAL DIAGRAMS to supplement your testing efforts.

Fuel Injection, Ignition Control Unit (ECU) And System Relay:





1. Turn ignition OFF.
2. Access fuel injection ECU by removing the passenger side kick panel and glove compartment.
3. Check fuel injection ECU ground connections. They should make good contact and fit tight.

Disconnecting ECU Connector:





4. Remove ECU connector by pressing up the latch and folding out the wire cluster.

Removing Protective Sleeve:





5. Remove connector protective sleeve.
IMPORTANT:
-Never check connections from the front. Connectors can get damaged and worsen the problem.
-Check connections through the holes in the connector.
-Connection pin numbers are printed on the connector side.

Color Code Legend:





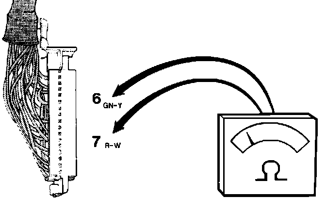
Checking Pins 6 And 7:





6. Check mass air flow sensor by connecting an ohmmeter between ECU connector pin 6 and 7.

Reading: approx. 108 ohms

If reading is incorrect, replace and retest with new mass air flow sensor.
If reading is correct, continue with next steps.

Removing Rubber Boot From Air Mass Meter Connector:





7. Remove rubber boot from mass air flow sensor connector to access leads.

Checking Terminal #3:





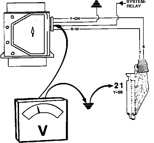
8. Connect a lead from ECU connector pin 21 to ground.
9. Connect voltmeter between ground and #3 connection on mass air flow sensor connector.

Reading: approx. 12 volts.

If reading is incorrect, check wiring to system relay. If wiring is O.K., check system relay (see SYSTEM RELAY).
If reading is correct, continue with next steps.

Checking Terminals #3 And #4:





10. Connect voltmeter between mass air flow sensor connection #2 (ground) and #3 (current feed from system relay).

Reading: approx. 12 volts

If reading is incorrect, repair wire from terminal #2 to ground and retest.
If reading is correct, mass air flow sensor is operating correctly.
11. After testing, disconnect all test equipment, reconnect all connectors (including the ECU connector) and remount all panels.