Curiosii for ever!: Car repair manuals for everyone.

Mass Air Flow Sensor (LH-2.4)

TESTING PROCEDURE:

NOTE: While trouble shooting, always check the wiring, fuses and connectors for good condition and routing. Use the wiring diagrams found in ELECTRICAL DIAGRAMS to supplement your testing efforts.

Fuel Injection, Ignition Control Unit (ECU) And System Relay:





1. Turn ignition OFF.
2. Access fuel injection ECU by removing the passenger side kick panel and glove compartment.
3. Check fuel injection ECU ground connections. They should make good contact and fit tight.

Disconnecting ECU Connector:





4. Remove ECU connector by pressing up the latch and folding out the wire cluster.

Removing Protective Sleeve:





5. Remove connector protective sleeve.
IMPORTANT:
-Never check connections from the front. Connectors can get damaged and worsen the problem.
-Check connections through the holes in the connector.
-Connection pin numbers are printed on the connector side.

Color Code Legend:





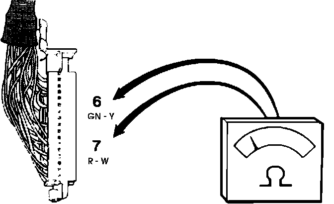
ECU Connection 6 And 7:





6. Check mass air flow sensor by connecting an ohm meter between ECU connector pin 6 and 7.

Reading: 2.5 - 4.0 ohms

If reading is incorrect, continue with step 16. If reading is correct, continue with next steps.

Removing Rubber Boot From Air Mass Meter Connector:





7. Remove rubber boot from mass air flow sensor connector to access leads.

Testing Pin 5 On Air Mass Meter:





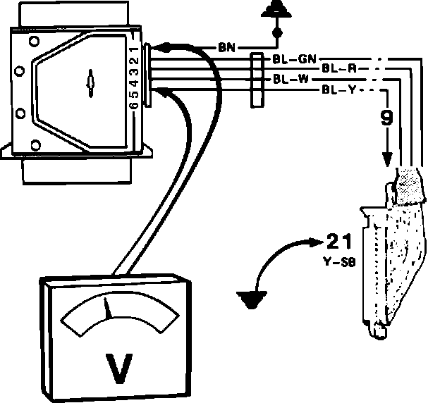
8. Connect a lead from ECU connector pin 21 to ground.
9. Connect voltmeter between ground and #5 connection on mass air flow sensor connector.

Reading: approx. 12 volts.

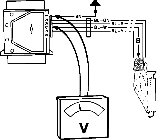
Testing Pin 1 On Air Mass Meter:





10. Connect voltmeter between mass air flow sensor connection #1 (ground) and #5 (current feed from system relay).

Reading: Approx. 12 volts

Remove ground lead from ECU connector pin 21. If reading is incorrect, continue with step 16. If reading is correct, continue with next steps.
11. Disconnect all test equipment, reconnect all connectors (including the ECU connector). Keep rubber boot from mass air flow sensor connector removed.
12. Start engine and run to operating temperature (minimum of 60°C / 140°F).

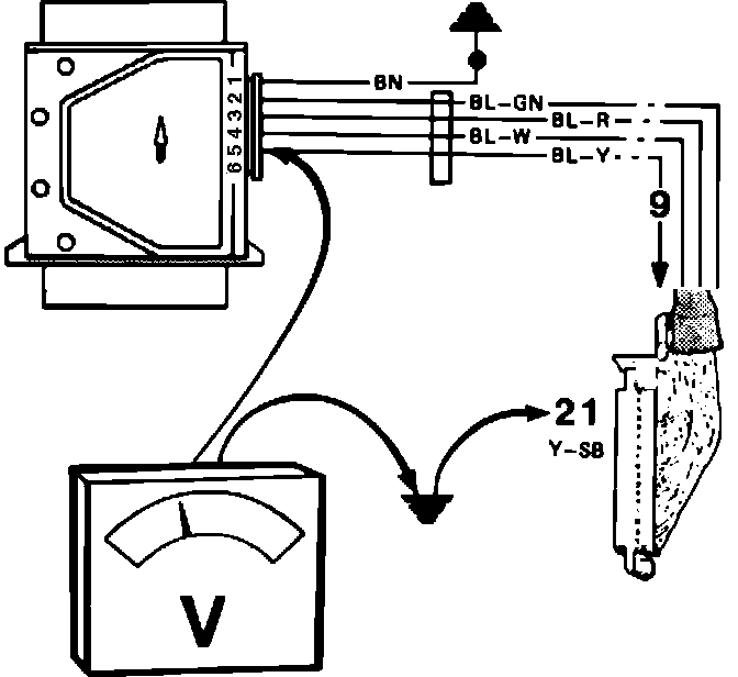
Testing Air Mass Meter "Burn-Off":





13. Connect voltmeter to connections 1 and 4 of mass air flow sensor.
14. Rev engine to 2,100 RPM.
15. Turn off engine. After 4 seconds the voltmeter needle should swing back and forth for approx. 1 second (mass air flow sensor "burn-off").
16. If mass air flow sensor fails any of these tests, replace it and retest.
17. After testing, disconnect all test equipment, reconnect all connectors (including the ECU connector) and remount all panels.