Curiosii for ever!: Car repair manuals for everyone.

Hall Effect Sensor: Service and Repair

REPLACING HALL PICK-UP





- Remove distributor.
- Mount distributor in a soft-jawed vise.
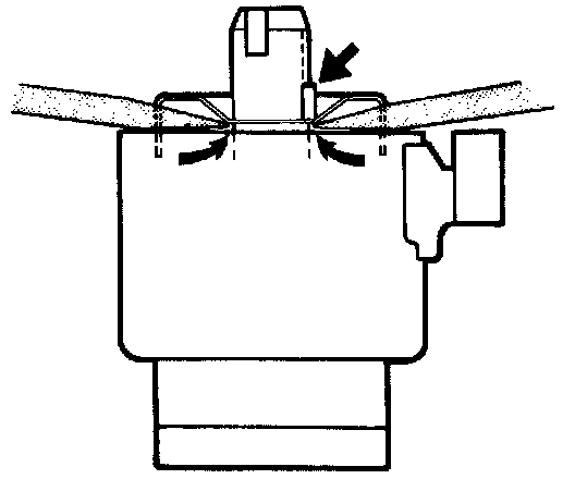
- Release circlip retaining trigger wheel.





- Pry off trigger wheel with two screwdrivers (use round-shaft screwdrivers, 5 mm diameter).





- Place tips of screwdrivers on steel hub, as shown.
- Take care not to damage trigger wheel.
- Take care not to lose lock pin.

NOTE: If trigger wheel is bent during removal, it must be replaced.





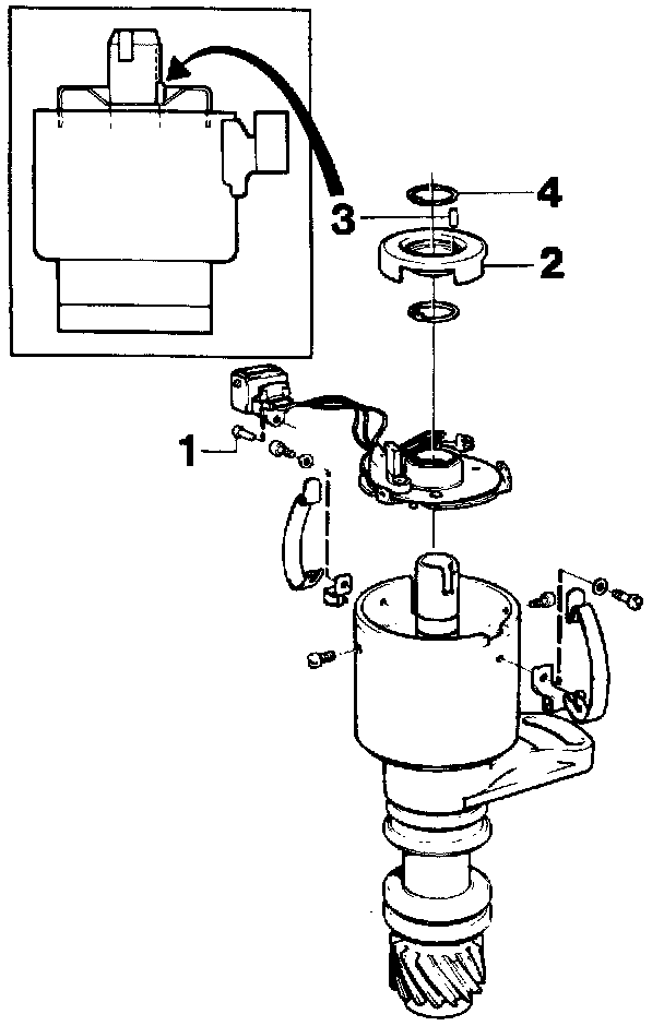
Remove
- Circlip.
- Hall pick-up retaining screws.





- Plastic pin (A) for connector.





- Remove Hall switch and connector.





Install:
- New Hall switch and connector.
- Circlip.
- Retaining screws and plastic pin (1).

Install:
- Trigger wheel (2)
- Lockpin (3)
- Circlip (4)
- Condensation trap
- Rotor arm
- Install distributor.