Curiosii for ever!: Car repair manuals for everyone.

Communications Control Module







Control modules in rear part of vehicle

Telephone transceiver -R36-









Component Location:


Below passenger's seat, front -Arrow-


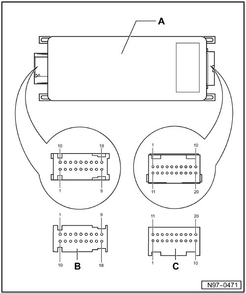
Pin Arrangements:







A - Telephone transceiver -R36-
Connector:

B - 18-pin connector -T18b-

C - 20-pin connector -T20f-