Curiosii for ever!: Car repair manuals for everyone.

Ignition Switch: Service and Repair






Electronic Ignition Switch D9

Special tools, testers and auxiliary items required

Ignition Lock Removal Pliers (VAS6339)






The following components are integrated in the electronic ignition switch (depending on equipment):

Anti-Theft Immobilizer Reading Module (D1)

Push Button Illumination (L76)

Ignition Switch Key Lock Solenoid (N376) (vehicles with automatic transmission only)

Coding, basic setting or adaptation is not necessary if Electronic Ignition Switch is replaced.

Removing

- Switch off the ignition and all electrical consumers and move the ignition key or start button into the 0 position (preliminary engaged position).

Danger of the airbag deploying!

The airbag could deploy if the unit is mishandled.

Follow all Safety Precautions when working on an airbag.

- Remove the steering wheel.

- Remove the trim on the driver side.

- Push the cover - 3 - for the panel - 1 - down to access the panel retainers - 1 -.






- Press catches of panel - 1 - outward using (VAS 6339) through the recesses - 2 - on both sides.






- Remove trim.

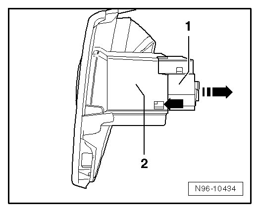
- Remove the bolt - 1 -.






- Unlock the retainers - arrow - on both sides and remove the electronic ignition switch - 2 - from the driver side trim- 1 - in - direction of arrow -.






Installing

Install in reverse order of removal.

Make sure the electronic ignition switch locks securely inside the trim on the driver side.