CC, Tiguan and Golf R Component Overviews
All Wheel Drive Control Module J492
The Haldex clutch has been redesigned. Beginning with the 2009 Tiguan, the new Haldex clutch (generation "Haldex IV") is being installed. It is also installed in the CC and the Golf R.
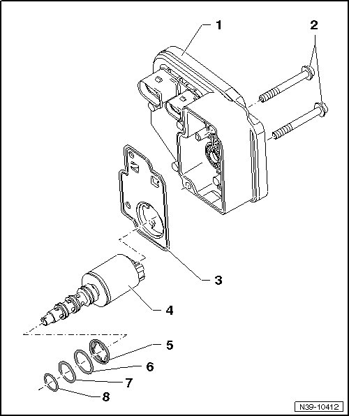
1 All-Wheel Drive Control Module (J492)
• Is calibrated with the Haldex clutch control valve.
• Always replace together with the control valve.
• Removing and installing, refer to => [ All Wheel Drive Control Module J492 ] All Wheel Drive Control Module J492.
2 Bolt
• 6 Nm
3 Cover
• With a vulcanized seal.
• Remains on the control module or on the Haldex clutch housing during removal.
• Always replace.
4 Haldex Clutch Control Valve (N373)
• Is calibrated with the all wheel drive control module.
• Always replace together with the control module.
• Removing and installing, refer to => [ All Wheel Drive Control Module J492 ] All Wheel Drive Control Module J492.
5 Seal
• Make sure the centering lip fits correctly in the groove.
• Coat with high performance gear oil for Haldex coupling (052 175 A2) and install.
• Always replace.
6 Seal
• Diameter: 12 mm
• Coat with high performance gear oil for Haldex coupling (052 175 A2) and install.
• Always replace.
7 Seal
• Diameter: 11 mm
• Coat with high performance gear oil for Haldex coupling (052 175 A2) and install.
• Always replace.
8 Seal
• Diameter: 10 mm
• Coat with high performance gear oil for Haldex coupling (052 175 A2) and install.
• Always replace.