Steering Column Switch Base Carrier, Valeo
Steering Column Switch Base Carrier, Valeo
Special tools, testers and auxiliary items required
• Angled Hand Drill
• Torque Wrench (V.A.G 1410)
Follow the specified sequence when removing and installing steering column switch components. Refer to => [ Steering Column Switch Components, Removal and Installation Sequence ] Steering Column Switch Components, Removal and Installation Sequence.
Removal
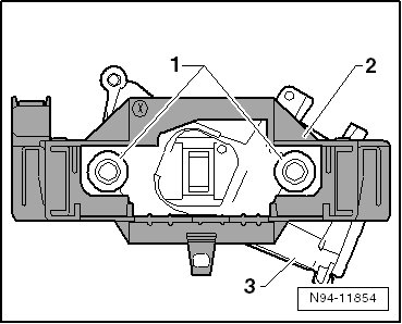
• The shear bolts on the - 1 - steering lock housing must be drilled out in order to remove the steering column switch base carrier - 2 -. New shear bolts will be needed later for installing. Refer to Electronic Parts Catalog (ETKA).
• Before drilling out shear bolts, always ensure all components secured to base carrier are removed beforehand.
• By drilling out, drill shavings can reach the neighboring components, which can lead to damage and / or malfunctions!
• When removing steering column switch components, observe specified sequence, refer to => [ Steering Column Switch Components, Removal and Installation Sequence ] Steering Column Switch Components, Removal and Installation Sequence.
Follow the procedure in the Repair Information when disconnecting and connecting the battery. Refer to => [ Battery, Disconnecting and Connecting ] Battery, Disconnecting and Connecting.
Removal
- Disconnect the battery. Refer to => [ Battery, Disconnecting and Connecting ] Battery, Disconnecting and Connecting.
- Remove all components secured to the base carrier in the specified sequence. Refer to => [ Steering Column Switch Components, Removal and Installation Sequence ] Steering Column Switch Components, Removal and Installation Sequence.
After components secured to base carrier have been removed, the base carrier can be removed:
- Drill out the shear bolts - 1 - on the steering lock housing - 3 -.
• Bolts M8 - 1 -, core hole diameter 6.8 mm.
- Remove the steering lock housing - 3 - and the steering column switch base carrier - 2 - from the steering column.
- Remove steering lock housing from base carrier for steering column switches.
Installation
- Install the steering lock housing - 3 - in the steering column switch base carrier - 2 -.
- Slide the steering column combination switch (E595) onto the steering column switch base carrier until it latches.
- Slide the pre-assembled unit from the steering lock housing, the steering column switch base carrier and the steering column combination switch all the way onto the steering column and align them with the threaded holes.
- Attach the steering lock housing - 3 - to the steering column with new shear bolts - 1 -.
- Tighten new shear bolts - 1 - until bolt heads shear off.
- Install all components in reverse order of removal.