Curiosii for ever!: Car repair manuals for everyone.

Ignition Switch Lock Cylinder: Service and Repair






Steering Column Switch

Lock Cylinder

CAUTION!
When disconnecting and connecting battery, the procedure must be followed as described in the repair information. Refer to => [ Battery, Disconnecting and Connecting ] Battery, Disconnecting and Connecting.

Steering lock may be destroyed.

If steering lock is operated without lock cylinder, it locks and must be replaced.

Steering lock must not be operated without lock cylinder.

Removing

- Disconnect battery. Refer to => [ Battery, Disconnecting and Connecting ] Battery, Disconnecting and Connecting.

- Remove driver's side airbag Removal and Installation.

- Remove the steering wheel

- Remove steering column trim.

For clarity reasons, illustration does not show turn signal switch, windshield wiper switch, steering angle sensor, spiral spring and steering column electronic systems control module. Components must not be removed when removing lock cylinder.

The immobilizer induction coil is attached to the lock cylinder and cannot be replaced separately.

To improve clarity, the ignition key is not shown in the following illustrations.

- Insert ignition key into lock cylinder and turn it into position " Drive".





Key positions of lock cylinder:

1 Position "Off"
2 Position "Run"
3 Position "Start"

For reasons of clarity, the following illustration depicts lock cylinder as removed and without ignition key.





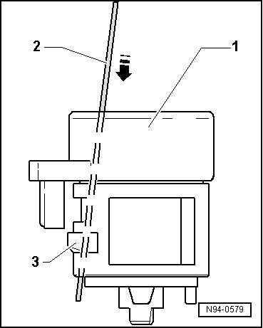
- Insert a steel wire (approximately dia. 1.2 mm) into the hole - arrow - next to the ignition key.

- Using the steel wire - 2 -, release - arrow - the retaining lever - 3 - of the lock cylinder - 1 -.

- Remove the lock cylinder - 1 - from the steering lock housing.

- Disconnect harness connector - arrow - at induction coil.





Installing





To improve clarity, the ignition key is not shown in the following illustration.

- Insert the ignition key into the lock cylinder - 1 - and turn it to the "Run" position.

- Using the steel wire - 2 -, release - arrow - the retaining lever - 3 - of the lock cylinder - 1 -.

- Connect the immobilizer induction coil connector.

- Insert the lock cylinder - 1 - into the steering lock housing.

Connection of induction coil for anti-theft immobilizer must be inserted into guide on steering lock housing.

- Pull the steel wire - 2 - out of the lock cylinder - 1 - and verify that the lock cylinder is securely seated in the steering lock housing.

- Install all components in reverse order of removal.