Curiosii for ever!: Car repair manuals for everyone.

Front Exhaust Pipe with Catalytic Converter Assembly Overview






Front Exhaust Pipe with Catalytic Converter Assembly Overview





1 Exhaust Manifold

Coat the stud bolts with hot bolt paste.

2 Gasket

Replace

Note the installed position:

Gasket recess - arrow A - must be located at exhaust manifold recess - arrow B -.

3 Connector

Black, 4 pin

4 Oxygen Sensor (O2S) in center Three Way Catalytic Converter (TWC), Bank 1 (G465)

55 Nm

When reusing an oxygen sensor, only use hot bolt paste to grease the threads. Do not let the paste get onto the slits of the oxygen sensor body.

5 Spring Nut

Insert from the front.

6 Clamp

Before tightening, ensure the exhaust system is free of stress. Refer to => [ Exhaust System, Installing ] Exhaust System, Installing.

Installed location, refer to.

Tighten the bolts evenly.

7 Nut

25 Nm

8 Nut

23 Nm

9 Oxygen Sensor (O2S) behind Three Way Catalytic Converter (TWC) (G130)

55 Nm

When reusing an oxygen sensor, only use hot bolt paste to grease the threads. Do not let the paste get onto the slits of the oxygen sensor body.

10 Connector

Brown, 4 pin

Installed location, refer to.

11 Front Crossmember

12 Bolt

5 Nm

13 Heat Shield

For the catalytic converter.

14 Bolt

25 Nm

15 Suspended Mount

Replace if damaged.

16 Bolt

10 Nm

17 Front Exhaust Pipe with Catalytic Converter

Protect from shocks and impact stress.

With a flex joint.

Flex joint must not be bent more than 10° - otherwise it may be damaged.

Removing and installing, refer to => [ Front Exhaust Pipe with Catalytic Converter ] Front Exhaust Pipe With Catalytic Converter.

Install the exhaust system free of stress. Refer to => [ Exhaust System, Installing ] Exhaust System, Installing.

18 Nut

Replace

25 Nm

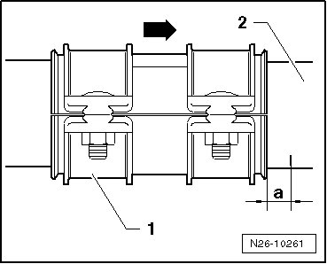
Installed Position of Clamp





- Arrow - points in direction of travel.

- Align the clamp - 1 - to the mark on the front exhaust pipe - 2 -.

- a - = 5 mm

Bolts must not project beyond the lower edge of the clamp.

Oxygen Sensor Connector Installed Position





Harness connectors are located on the right side of the vehicle floor on the bracket.

1. Harness connector for O2S behind TWC, brown

2. Bracket

3. Harness connector for O2S in center TWC, Bank 1, black