Curiosii for ever!: Car repair manuals for everyone.

Ignition Lock: Service and Repair






Lock Cylinder

CAUTION!
When disconnecting and connecting the Battery ( A), the procedure must be followed as described in the Repair Information. Refer to => [ Battery A, Disconnecting and Connecting ] Battery A, Disconnecting and Connecting.

Special tools, testers and auxiliary items required

Steel Wire (approximately dia. 1.2 mm)

Removing

- Remove the steering column trim.

- Carefully remove the Anti-Theft Immobilizer Reading Coil (D2) - arrow - from the lock cylinder.





The Anti-Theft Immobilizer Reading Coil (D2) is attached to the lock cylinder and cannot be replaced separately.

- Insert ignition key into lock cylinder and turn it to "Drive ".

Key positions of lock cylinder:

1. Position "Off"

2. Position "Run"

3. Position "Start"

- Insert a steel wire (approximately dia. 1.2 mm) into the hole - arrow - next to the key.





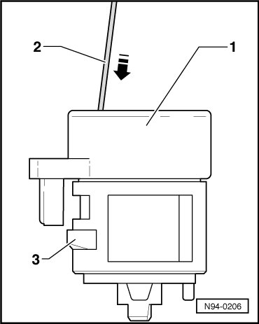
- Unlock the lever on the lock cylinder with the steel wire - arrow - and pull the lock cylinder out of the steering lock housing.





1. Lock Cylinder

2. Steel wire (approximately dia. 1.2 mm)

3. Securing lever

Installing

- Insert ignition key into lock cylinder and turn it to "Drive ".

- Unlock the lever with a steel wire (approximately dia. 1,2 mm) and install the lock cylinder into the steering lock housing.

When inserting lock cylinder, make sure connection for Anti-Theft Immobilizer Reading Coil (D2) is inside the guide in the steering lock housing.

- Pull the steel wire out of the lock cylinder and then check to make sure the lock cylinder fits securely in the steering lock housing.

- Connect the connector - arrow - from the Anti-Theft Immobilizer Reading Coil (D2) to the lock cylinder.