Curiosii for ever!: Car repair manuals for everyone.

Front Exhaust Pipe With Catalytic Converter Assembly Overview






Front Exhaust Pipe with Catalytic Converter Assembly Overview





1 Exhaust Manifold

Coat the stud bolts with hot bolt paste (G 052 118 A3).

2 Gasket

Replace

Note the installed position:

Gasket recess - arrow A - must be located at the exhaust manifold recess - arrow B -.

3 Nut, 25 Nm

Replace

4 Front Exhaust Pipe with Catalytic Converter

Protect from shocks and impact stress.

With a flex joint.

Flex joint must not be bent more than 10 degrees, otherwise it may be damaged.

Removal and installation, refer to => [ Front Exhaust Pipe with Catalytic Converter ] Front Exhaust Pipe With Catalytic Converter.

Install exhaust system free of stress, refer to => [ Exhaust System, Installing ] Exhaust System, Installing.

5 Double Clamp

Before tightening, ensure the exhaust system is free of tension, refer to => [ Exhaust System, Installing ] Exhaust System, Installing.

Installed position, refer to => [ Installed Position of Double Clamp ].

Tighten the bolts evenly.

6 Nut, 25 Nm

7 Nut, 23 Nm

8 Front Crossmember

9 Oxygen Sensor (O2S) behind Three Way Catalytic Converter (G130), 55 Nm

Use ring spanner 7 piece set (3337) for removal and installation.

Threads of a new oxygen sensor are coated with assembly paste.

When using an oxygen sensor again, only use hot bolt paste (G 052 112 A3) to grease the threads; do not let the paste get onto the slits of the oxygen sensor body.

If the sealing ring is leaking cut it off and replace it.

10 Connector

Brown, 4 pin.

Installed location, refer to => [ Harness Connector for Oxygen Sensors - Installed Position ] Front Exhaust Pipe With Catalytic Converter Assembly Overview.

11 Bolt, 25 Nm

12 Suspended Mount

Replace if damaged.

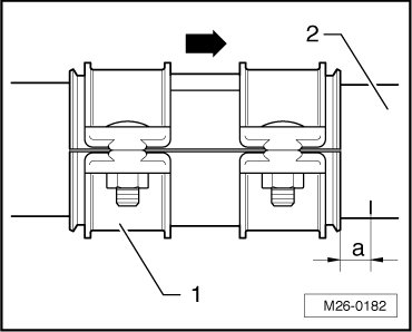
Installed Position of Double Clamp





- Arrow - points in direction of travel.

- Align the double clamp - 1 - to the mark on the catalytic converter - 2 -.

- a - = 5 millimeter (mm)

Clamp bolts must not project beyond the lower edge of the double clamp.