Heating and A/C Controls
Heating and A/C Controls
Removing
- Remove center air outlet console => [ Center Air Outlet Console ] Center Air Outlet Console
- Remove mounting screws - arrows -.
- Lift out controls with cables from instrument panel in direction of - arrow A -.
- Detach cables from controls.
- Disconnect electrical connector.
With controls removed, check function of heating and ventilation cables as follows:
- Move cables in and out several times - arrow -.
- Replace damaged or stiff cables.
Installing
• Cable sleeves are color coded.
• All doors must audibly move onto stops when turning controls.
• Always check cables before installing. Replace tight or damaged cables.
- Attach cable - 1 - to actuating arm - 2 - as indicated-arrow-.
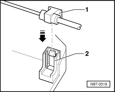
- Press cable for footwell/defrost, cable for temperature door and cable for central door - 1 - into retainer - 2 - until it engages.
Cable Color Codes
• Footwell/defrost door cable: green
• Central door cable: yellow
• Temperature door cable: beige
- Check and adjust cables => [ Heating and A/C Cables Component Overview ] Heating and A/C Cables Component Overview.
- Connect electrical connector
- Fit controls into instrument panel opening and install mounting screws.