Curiosii for ever!: Car repair manuals for everyone.

Cellular Telephone Operating Electronics Control Module






Telephone System

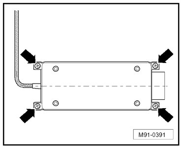
Cellular Telephone Operating Electronics Control Module (J412)

CAUTION!
Prior to working on the electrical system:

Obtain the radio system anti-theft code.

Switch off all electrical consumers.

Switch off the ignition and remove the ignition key.

Disconnect the battery.

The cellular telephone operating electronics control module is located under the center console in the area of the parking brake lever.

Removing

- Switch off ignition, switch off all electrical consumers and remove ignition key.

- Remove center console.

- Disconnect electrical connector.

- Remove the screws - arrows - from the cellular telephone operating electronics control module.





- Remove the cellular telephone operating electronics control module with the wire connection.

Installing

Install in reverse order.

Tightening Specifications: 1.5 Nm.