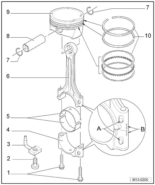
Piston and Connecting Rod Assembly Overview
Piston and Connecting Rod Assembly Overview
1 Bolt, 30 Nm + 90° (1/4 additional turn)
• Replace
• Lubricate the threads and contact surfaces.
• Tighten to 30 Nm to measure radial play, do not turn further.
2 Pressure Relief Valve, 27 Nm
• Opening pressure 1.3 to 1.6 bar pressure.
3 Oil Spray Jet
• For piston cooling.
4 Connecting Rod Bearing Cap
• Note the installed position.
• Due to the way the separated connecting rod breaks (cracks), the cap fits only in one position and only onto the respective connecting rod.
• Affiliation to the cylinder mark - B -.
• Installed position: Marks - A - point to the belt pulley side.
5 Bearing Shell
• Note the installed position, refer to => [ Bearing Shells, Installed Location ].
• Do not interchange used bearing shells.
• Axial play new: 0.10 to 0.35 millimeter (mm).
Wear limit: 0.4 mm
• Measure radial clearance with Plastigage(R):
New: 0.02 to 0.06 mm
Wear limit: 0.09 mm
Do not turn the crankshaft when measuring radial play.
6 Connecting Rod
• With a cracked bearing cap.
• Separate new connecting rods. Refer to => [ New Connecting Rod, Separating ] Procedures.
• Only replace as a set.
• Affiliation to the cylinder mark - B -.
• Installed position: Marks - A - point to belt pulley side.
7 Circlip
8 Piston Pin
• If difficult to move, heat the piston to 60 °C (140 °F).
• Remove and install using pilot drift (VW 222A).
9 Piston
• Checking, refer to => [ Pistons, Checking ] Testing and Inspection.
• Mark the installed position and cylinder allocation.
• Arrow on piston face points toward the belt pulley side.
• Install with a piston ring compressor.
• Checking cylinder bore, refer to => [ Cylinder Bore, Checking ] Testing and Inspection.
• Piston and cylinder dimensions. Refer to => [ Piston and Cylinder Dimensions ] Piston and Cylinder Dimensions.
10 Piston Rings
• Offset gaps by 120°
• Use piston ring pliers for removal and installation.
• Marks face toward the piston crown.
• Checking ring gap, refer to => [ Piston Ring Gap, Checking ] Testing and Inspection.
• Checking piston ring groove clearance, refer to => [ Piston Ring Groove Clearance, Checking ] Testing and Inspection.
Bearing Shells, Installed Location
Bearing shell - 1 - with oil bore - arrow - for connecting rod.
Bearing shell - 2 - without oil bore for connecting rod cover.
- Place the bearing shells centrally into the connecting rod and connecting rod cap.
Dimension - a - must be the same at left and right.