Curiosii for ever!
: Car repair manuals for everyone.
Home
>>
Volkswagen
>>
2009
>>
CC (357) V6-3.6L (BLV)
>>
Repair and Diagnosis
>>
Diagrams
>>
Connector Views
>>
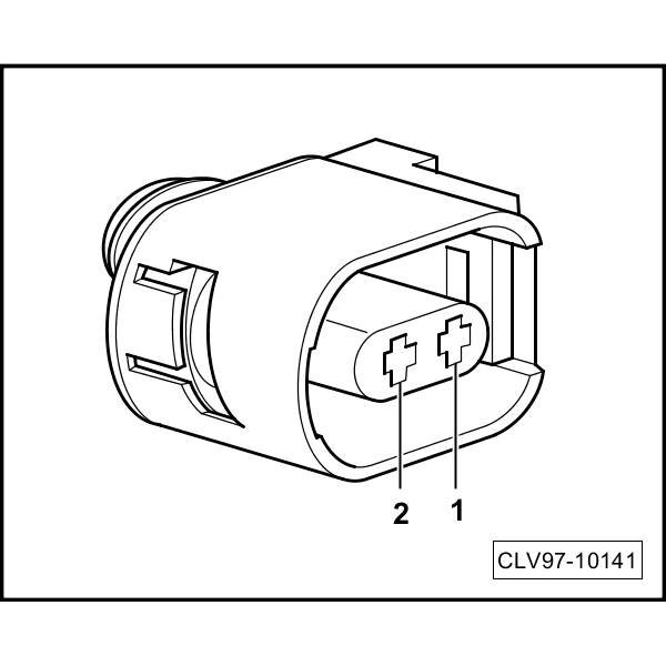
Wheel Speed Sensor
Wheel Speed Sensor
Anti-Lock Brake System - Connector Views
ABS wheel speed sensor -G44- / -G45- / -G46- / -G47-