Curiosii for ever!: Car repair manuals for everyone.

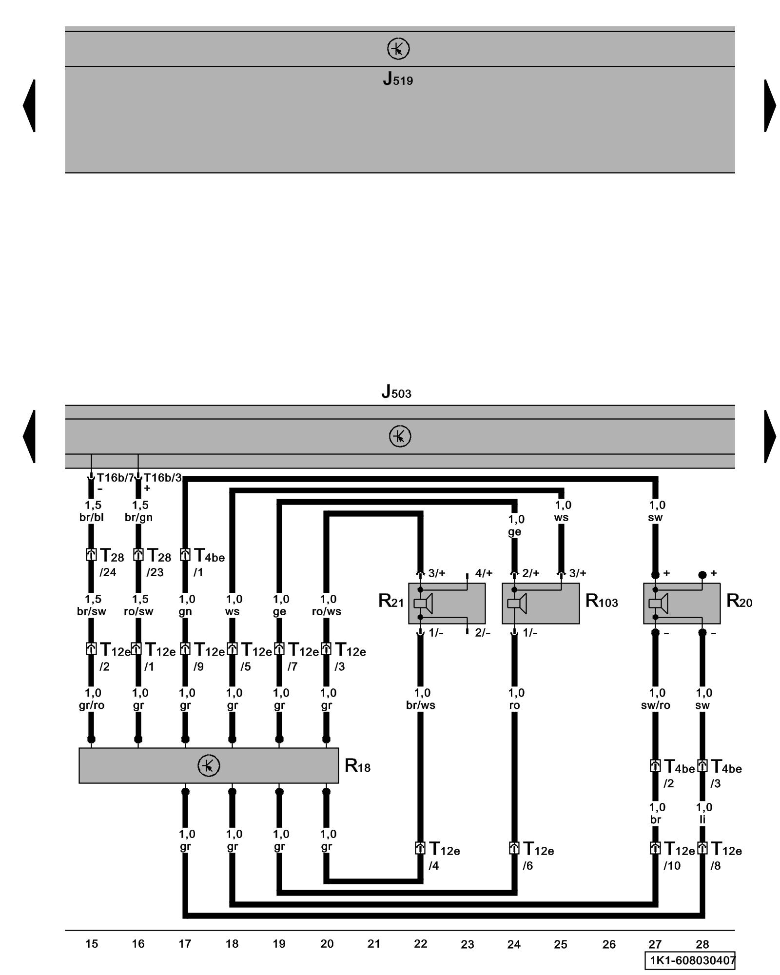
Diagram 608/3 (Tracks 15-28)






IMPORTANT NOTE:
This manufacturer uses "Track" style wiring diagrams.
For information on how to use these diagrams effectively, please refer to Diagram Information and Instructions. Diagram Information and Instructions


Radio/Navigation Display Control Module, Left Front Speaker, Left Frequency Crossover





ws = white
sw = black
ro = red
br = brown
gn = green
bl = blue
gr = grey
li = lilac
ge = yellow
or = orange
rs = pink

J503 - Radio/Navigation Display Control Module Radio / Navigation And Antenna Systems Overview

J519 - Vehicle Electrical System Control Module

R18 - Left Frequency Crossover, in driver's door

R20 - Left Front Treble Speaker Radio / Navigation And Antenna Systems Overview

R21 - Left Front Bass Speaker Radio / Navigation And Antenna Systems Overview

R103 - Left Front Midrange Speaker Radio / Navigation And Antenna Systems Overview

T4be - 4-Pin Connector, in driver's door

T12e - 12-Pin Connector, in driver's door

T16b - 16-Pin Connector

T28 - 28-Pin Connector, connector station A-pillar, left

Previous Diagram 608/2 (Tracks 1-14)

Next Diagram 608/4 (Tracks 29-42)