Curiosii for ever!: Car repair manuals for everyone.

Heating and A/C Controls






Heating and A/C Controls

Removing

- Remove center air outlet console => [ Center Air Outlet Console ] Center Air Outlet Console





- Remove mounting screws - arrows -.

- Lift out controls with cables from instrument panel in direction of - arrow A -.

- Detach cables from controls.

- Disconnect electrical connector.

With controls removed, check function of heating and ventilation cables as follows:





- Move cables in and out several times - arrow -.

- Replace damaged or stiff cables.

Installing

Cable sleeves are color coded.

All doors must audibly move onto stops when turning controls.

Always check cables before installing. Replace tight or damaged cables.

- Attach cable - 1 - to actuating arm - 2 - as indicated-arrow-.





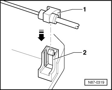
- Press cable for footwell/defrost, cable for temperature door and cable for central door - 1 - into retainer - 2 - until it engages.





Cable Color Codes

Footwell/defrost door cable: green

Central door cable: yellow

Temperature door cable: beige

- Check and adjust cables => [ Heating and A/C Cables Component Overview ] Heating and A/C Cables Component Overview.

- Connect electrical connector

- Fit controls into instrument panel opening and install mounting screws.