Front Exhaust Pipe with Catalytic Converter Assembly Overview
Front Exhaust Pipe with Catalytic Converter Assembly Overview
1 Exhaust Manifold
• Coat the stud bolts with hot bolt paste.
2 Gasket
• Replace
• Note the installed position:
Gasket recess - arrow A - must be located at exhaust manifold recess - arrow B -.
3 Connector
• Black, 4 pin
4 Oxygen Sensor (O2S) in center Three Way Catalytic Converter (TWC), Bank 1 (G465)
• 55 Nm
• When reusing an oxygen sensor, only use hot bolt paste to grease the threads. Do not let the paste get onto the slits of the oxygen sensor body.
5 Spring Nut
• Insert from the front.
6 Clamp
• Before tightening, ensure the exhaust system is free of stress. Refer to => [ Exhaust System, Installing ] Exhaust System, Installing.
• Installed location, refer to.
• Tighten the bolts evenly.
7 Nut
• 25 Nm
8 Nut
• 23 Nm
9 Oxygen Sensor (O2S) behind Three Way Catalytic Converter (TWC) (G130)
• 55 Nm
• When reusing an oxygen sensor, only use hot bolt paste to grease the threads. Do not let the paste get onto the slits of the oxygen sensor body.
10 Connector
• Brown, 4 pin
• Installed location, refer to.
11 Front Crossmember
12 Bolt
• 5 Nm
13 Heat Shield
• For the catalytic converter.
14 Bolt
• 25 Nm
15 Suspended Mount
• Replace if damaged.
16 Bolt
• 10 Nm
17 Front Exhaust Pipe with Catalytic Converter
• Protect from shocks and impact stress.
• With a flex joint.
• Flex joint must not be bent more than 10° - otherwise it may be damaged.
• Removing and installing, refer to => [ Front Exhaust Pipe with Catalytic Converter ] Front Exhaust Pipe With Catalytic Converter.
• Install the exhaust system free of stress. Refer to => [ Exhaust System, Installing ] Exhaust System, Installing.
18 Nut
• Replace
• 25 Nm
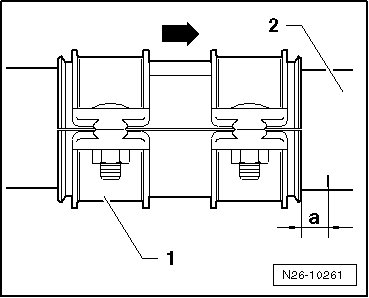
Installed Position of Clamp
- Arrow - points in direction of travel.
- Align the clamp - 1 - to the mark on the front exhaust pipe - 2 -.
- a - = 5 mm
Bolts must not project beyond the lower edge of the clamp.
Oxygen Sensor Connector Installed Position
Harness connectors are located on the right side of the vehicle floor on the bracket.
1. Harness connector for O2S behind TWC, brown
2. Bracket
3. Harness connector for O2S in center TWC, Bank 1, black