Curiosii for ever!: Car repair manuals for everyone.

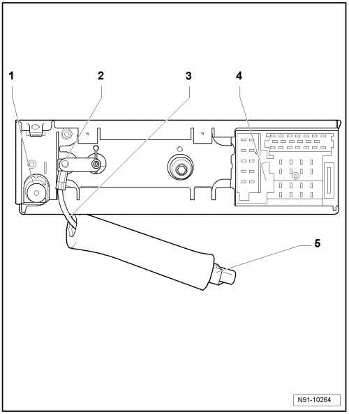
Radio Navigation System Connectors. Overview






Radio Navigation System Connectors. Overview





1 Radio Reception Antenna Connector

2 Navigation Antenna Connector

3 Navigation Antenna Adapter Cable

this adapter cable must always be installed, otherwise correct navigation antenna wire connection is not guaranteed.

4 Multi-Pin Connector 1-4

Multi-pin connector "1" is not used.

Multi-pin connector "2" for line out, telephone, CD changer. Refer to => [ Connector 2 Contact Assignment ]

Multi-pin connector "3" for speaker outputs. Refer to => [ Connector 3 Contact Assignment ] Connector 3 Contact Assignment

Multi-pin connector "4" for Gala, telephone, voltage supply. Refer to => [ Connector 4 Contact Assignment ] Connector 4 Contact Assignment

5 Navigation Antenna Connector

Connector 2 Contact Assignment





1 Pre-amplification output, audio signal, rear left
2 Pre-amplification output, audio signal, rear right
3 Pre-amplification output, audio signal, negative
4 Pre-amplification output, audio signal, front left
5 Pre-amplification output, audio signal, front right
6 Switched positive, output (up to max 300 mA)
7 Audio signal, telephone, input, positive
8 Audio signal, telephone, input, negative
9 Radio mute for telephone
10 Switched positive, output (up to max 300 mA)
11 Remote control input signal, positive
12 Remote control input signal, negative
13 CD changer data in, changer control
14 CD changer data out, changer control
15 Voltage supply, permanent positive
16 Switched positive, output (up to max 300 mA)
17 CD changer data, negative, changer control
18 CD changer audio signal input, negative
19 CD changer audio signal input, left, positive
20 CD changer audio signal input, right, positive

It is not possible to operate CD changer and sound amplifier with the DX-R4 radio navigation system.