Curiosii for ever!: Car repair manuals for everyone.

Engine Accessory Bracket






Fastener Tighten Specifications, Auxiliary Component Bracket, Vehicles with A/C

CAUTION!
Always follow the tightening sequence to prevent damaging the cylinder block and the auxiliary component bracket.

Tightening Sequence For The Accessories Bracket On The Cylinder Block





Procedure

- Position the accessories bracket on the cylinder block.

Insert all bolts before tightening to the specification.

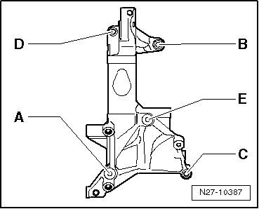
- Tighten the bolts on the auxiliary component bracket in the following sequence:

A Socket head fitting bolt, M8 x 28, 23 Nm, alignment bore
B Socket head fitting bolt, M8 x 28, 23 Nm, alignment bore
C Multipoint socket bolt, M8 x 50, 23 Nm
D Multipoint socket bolt, M8 x 50, 23 Nm
E Multipoint socket bolt, M8 x 50, 23 Nm