Engine Speed (RPM) Sensor, Checking
Engine Speed (RPM) Sensor, Checking
Function
The Engine Speed (RPM) Sensor -G28- detects engine speed and reference marks. Without an engine speed signal, the engine will not start. If the engine speed signal fails while the engine is running, the engine will stop immediately.
Recommended special tools and equipment
- V.A.G 1526 multimeter or V.A.G 1715 multimeter
- V.A.G 1594 connector test kit
- Wiring diagram
Test requirements
- Fuses on E-box in engine compartment, left side, must be OK.
NOTE: Fuses on this fuse holder are labelled "SB" in the wiring diagram.
- Fuses on fuse holder in instrument panel, left side, must be OK.
NOTE: Fuses on this fuse holder are labelled "SC" in the wiring diagram.
- Ground (GND) connections between engine and chassis must be OK.
- Ignition switched off.
Test sequence
Observe safety precautions.
Observe rules for cleanliness.
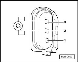
- Disconnect gray 3-pin harness connector (arrow) to Engine Speed (RPM) Sensor -G28-.
Checking resistance
- Check resistance between terminals 2 and 3 at connector to sensor.
Specified value: 730...1000 ohms
- Check sensor for short circuit between terminals 1 and 2 as well as 1 and 3.
Specified value: infinity ohms
If specified values are not obtained:
- Replace Engine Speed (RPM) Sensor -G28-:
- Replace sensor O-ring,
- Tightening torque of mounting bolt 10 Nm.
- Erase DTC memory of Engine Control Module (ECM), Diagnostic mode 4: Reset/erase diagnostic data. Diagnostic Mode 04 - Erase DTC Memory
- Generate readiness code. Monitors, Trips, Drive Cycles and Readiness Codes
If specified value is obtained:
- Check wires to Engine Control Module (ECM) according to wiring diagram.
Checking wires to Engine Control Module (ECM)
- Connect test box to 60-pin connector of wiring harness, connecting test box for wiring test. Test Box, Connecting For Wiring Test
Engine Control Module (ECM) is not connected.
- Check wires between test box and 3-pin connector to Engine Control Module (ECM) for open circuit according to wiring diagram.
Terminal 1 + socket 52
Terminal 2 + socket 51
Terminal 3 + socket 36
Wire resistance: max. 3.0 ohms
- Also check wires for short circuit to each other.
Specified value: infinity ohms
If no malfunctions are detected in the wires and the resistance value is OK:
- Remove sensor and check sensor wheel for secure fit, damage, and run-out.
If nothing seems to be wrong with the sensor wheel:
- Replace Engine Control Module (ECM) -J623-