Curiosii for ever!: Car repair manuals for everyone.

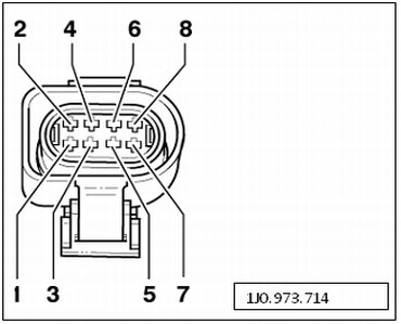
Transmission Fluid Temperature Sensor -G93- / Trans Input Speed Sensor -G182- / Trans Output Speed Sensor -G195-






Transmission Systems - Connector Views

Transmission fluid temperature sensor -G93- / Transmission input speed sensor -G182- / Transmission output speed sensor -G195-



09G, 09M Transmissions