Curiosii for ever!: Car repair manuals for everyone.

Engine Coolant Temperature Sensor, Checking






Engine Coolant Temperature Sensor, Checking

CAUTION!
Cooling system is under pressure.

Danger of scalding when opening!

Use only gold-plated terminals when servicing terminals in the electrical harness connector of Engine Coolant Temperature (ECT) Sensor (G62).

Special tools, testers and auxiliary items required

Multimeter.

jumper wire.

Wiring diagram.

Test requirements

The Motronic Engine Control Module (ECM) (J220) fuses OK.

Battery voltage at least 12.5 volts.

All electrical consumers such as, lights and rear window defroster, switched off.

Vehicles with automatic transmission, shift selector lever into position "P" or "N".

A/C switched off.

Ground (GND) connections between engine/transmission/chassis OK.

Ignition switched off.

Engine cold.

Test procedure

- Perform a preliminary check to verify the customers complaint. Refer to => [ Engine Control Module, Replacing ] Engine Control Module, Replacing

Start diagnosis

- Connect the scan tool.

- Switch the ignition on.

- Using the scan tool, check the coolant temperature:





If the specified value is not obtained:

- Continue test according to the following table:





If the specified value was obtained:

- Start the engine and let it run at idle.

The temperature value must increase uniformly in increments of 1.0° C.

If the engine shows problems in certain temperature ranges and if the temperature does not climb uniformly, the temperature signal is intermittent.

- Replace the the Engine Coolant Temperature (ECT) Sensor (G62)

Checking internal resistance

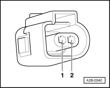
- Disconnect the Engine Coolant Temperature (ECT) Sensor (G62) electrical harness connector - arrow -.





- Using a multimeter, check the Engine Coolant Temperature (ECT) Sensor (G62) terminals 1 to 2 for resistance.





Use the chart below for the specified values:

Area A: Resistance values 0 to 50° C.

Area B: Resistance values 50 to 100° C.

Specified values:





Range A, 30° C equals a resistance of 1.5 to 2.0 kohms

Range B, 80° C equals a resistance of 275 to 375ohms

If any of the specified values was not obtained:

- Replace the Engine Coolant Temperature (ECT) Sensor (G62)

°Testing if display is approx. - 40.0 C

- Disconnect the Engine Coolant Temperature (ECT) Sensor (G62) electrical harness connector - arrow -.





- Using a jumper wire, connect the Engine Coolant Temperature (ECT) Sensor (G62) electrical harness connector terminals 1 to 2.

- Check the value indicated on the scan tool display.





If the value jumps to approx. 140.0 °C

- End of diagnosis and switch the ignition off.

- Replace the Engine Coolant Temperature (ECT) Sensor (G62)

If indication remains at approx. -40.0 °C:

°Testing if display approx. 140.0 C

- Disconnect the Engine Coolant Temperature (ECT) Sensor (G62) electrical harness connector - arrow -.





If indication jumps to approx. -40.0 °C:

- End of diagnosis and switch ignition off.

- Replace the Engine Coolant Temperature (ECT) Sensor (G62)

If indication remains at approx. 140.0 °C:

Checking wiring

If the manufacturers test box is being used. Perform the following step.

- Install the Adapter Cable (121-pin) (VAG1598/31)

If the manufacturers test box is not being used. Perform the following step.

- Remove the Motronic Engine Control Module (ECM) (J220). Refer to => [ Engine Control Module, Replacing ] Engine Control Module, Replacing.

- Using a Multimeter, check the Engine Coolant Temperature (ECT) Sensor (G62) electrical harness connector terminals to the Motronic Engine Control Module (ECM) (J220) electrical harness connector T121 terminals for resistance.









Specified value: 1.5 ohms Max.

If the specification was not obtained:

- Check the wiring for an open circuit, short circuit to each other, Battery (+), and Ground (GND).

- Check the electrical harness connector for damage, corrosion, loose or broken terminals.

- If necessary, repair the faulty wiring connection.

If no malfunction is detected in the wiring:

- Erase the DTC memory. Refer to => [ Diagnostic Mode 04 - Erase DTC Memory ] Diagnostic Mode 04 - Erase DTC Memory.

- Perform a road test to verify repair.

If the DTC does not return:

Repair complete, Generate readiness code. Refer to => [ Readiness Code ] Readiness Code.

- End of diagnosis.

If the DTC does return and no malfunction is detected in the wiring and the voltage supply was not OK:

- Replace the Motronic Engine Control Module (ECM) (J220). Refer to => [ Engine Control Module, Replacing ] Engine Control Module, Replacing.

Final procedures

After the repair work, the following work steps must be performed in the following sequence:

1. Check the DTC memory. Refer to => [ Diagnostic Mode 03 - Read DTC Memory ] Diagnostic Mode 03 - Read DTC Memory.

2. If necessary, erase the DTC memory. Refer to => [ Diagnostic Mode 04 - Erase DTC Memory ] Diagnostic Mode 04 - Erase DTC Memory.

3. If the DTC memory was erased, generate readiness code. Refer to => [ Readiness Code ] Readiness Code.