Curiosii for ever!: Car repair manuals for everyone.

Engine Speed (RPM) Sensor, Checking



Engine Speed (RPM) Sensor, Checking

Function
The Engine Speed (RPM) Sensor - G28 - detects engine speed and reference marks. Without an engine speed signal, the engine will not start. If the engine speed signal fails while the engine is running, the engine will stop immediately.

Recommended special tools and equipment
- VAG1526 multimeter or VAG1715 multimeter
- VAG1594 connector test kit
- Wiring diagram

Test requirements
- Ground (GND) connections between engine and chassis must be OK.
- Ignition switched off.

Test sequence







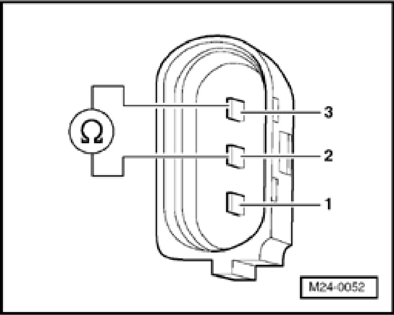
- Disconnect gray 3-pin harness connector (arrow) to Engine Speed (RPM) Sensor - G28 -







- Measure sensor resistance between terminals 2+3 at connector to sensor.

Specified value: 480 to 1000 ohms.

- Check sensor for short circuit between terminals 1+2 as well as 1+3.

Specified value: infinity ohms.

If specified values are obtained:
- Check wires according to wiring diagram.

If specified values are not obtained:
- Replace Engine Speed (RPM) Sensor - G28 -.
- Erase DTC memory of Engine Control Module (ECM). Diagnostic Mode 04 - Erase DTC Memory
- Generate readiness code. Monitors, Trips, Drive Cycles and Readiness Codes

Checking wiring
- Connect test box to control module wiring harness. Connecting Test Box For Wiring Test







- Check wires between test box and 3-pin connector for open circuit according to wiring diagram.
Terminal 1 + socket 108
Terminal 2 + socket90
Terminal 3 + socket 82

Wire resistance: max. 1.5 ohms.
- Also check wires for short circuit to each other.

Specified value: infinity ohms.

If no malfunctions are found in wires:
- Remove sensor and check sensor wheel for secure fit, damage, and run-out.

NOTE: There is a larger-sized gap on the sensor wheel. This gap is the reference mark and does not mean that the sensor wheel is damaged.

If nothing seems to be wrong with the sensor wheel:
- Replace Motronic Engine Control Module (ECM) - J220 -.