Curiosii for ever!
: Car repair manuals for everyone.
Home
>>
Volkswagen
>>
2006
>>
Rabbit (1K1) L5-2.5L (BGP)
>>
Repair and Diagnosis
>>
Specifications
>>
Mechanical Specifications
>>
Engine
>>
Cylinder Head Assembly
>>
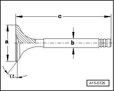
Valve, Intake/Exhaust
Valve, Intake/Exhaust
Valve Dimensions
•
Intake and exhaust valves must not be refaced by grinding. Only lapping is permitted.