Curiosii for ever!: Car repair manuals for everyone.

Engine Coolant System Monitoring



.10.00.00 Engine Coolant System Monitoring

.10.01.00 General description
The engine cooling system consist of five main parts.
1. The Engine Cooler
2. The Engine Coolant Temperature Sensor
3. The Thermostat Valve
4. The small Cooling Circuit
5. The large Cooling Circuit

During heating up the Engine the coolant flows first inside the small cooling circuit. After the coolant reach a sufficient temperature the thermostat valve will open the large cooling circuit to integrate the engine cooler.
The engine coolant temperature sensor measures a mixed temperature between the coolant coming from the small and large cooling circuit.







.10.01.02 Monitor Functional Description
The engine cooling system monitoring strategy consists of two main diagnostic parts.







Each of the engine cooling monitoring function has its own special engine temperature range in which it will be enabled.







.10.03.00 Charts and Flow Charts

Cooling System Performance (P2081)
In case that the engine coolant temperature does not reach an certain value after a sufficient mass air flow under normal driving conditions, the cooling system performance is considered to be reduced.







Flow Chart Cooling System Performance (P2081)







Engine Coolant Temp. Sensor Rationality (P3081)
In case that the engine coolant temperature does not fit to a reference model temperature in an certain range, the cooling system is defective or the sensor is not in a plausible range.







Flow Chart Coolant Temperature Sensor Rationality (P3081)







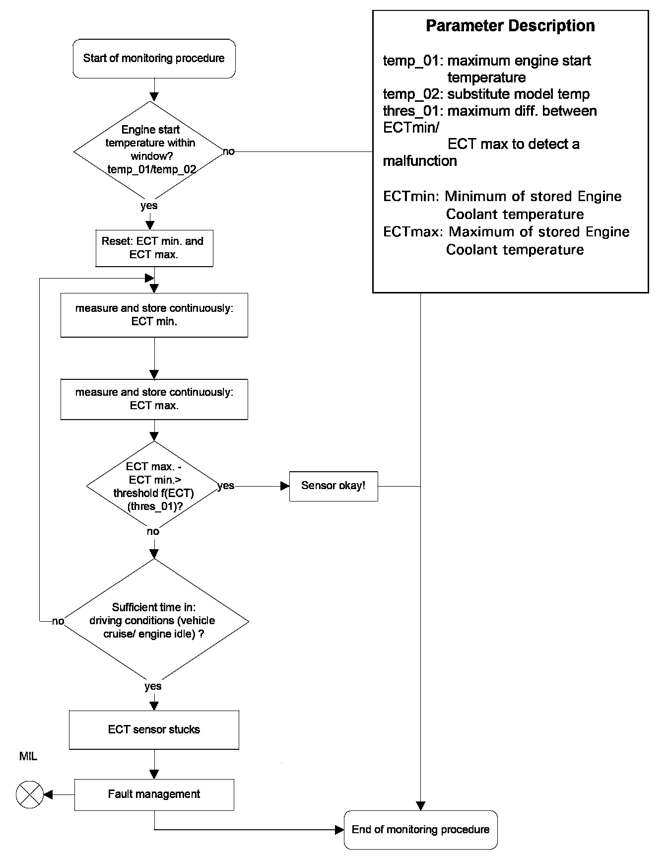
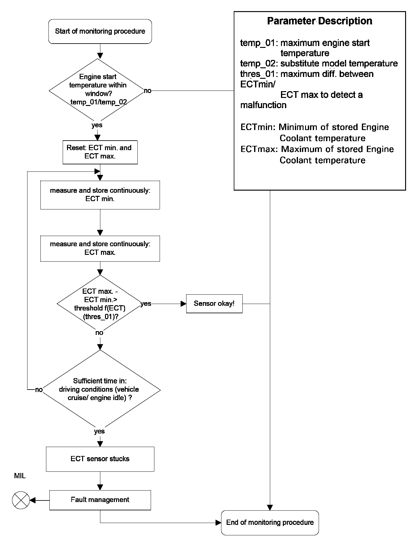
Engine Coolant Temperature Sensor Stuck High (P0116)
After engine start the system stores continuously the lowest and highest ECT above the thermostat control temperature for a driving cycle. In case that after several driving conditions the difference between ECT max and ECT min is lower than the threshold the sensor stucks at high values.







Flow Chart Engine Coolant Temperature Sensor Stuck High (P0116)







Engine Coolant Temperature Sensor Stuck Low (P0116)
After engine start the system stores continuously the lowest and highest ECT below the thermostat control temperature for a driving cycle. In case that after several driving conditions the difference between ECT max and ECT min is lower than the threshold the sensor stucks at low values.







Flow Chart Engine Coolant Temperature Sensor Stuck Low (P0116)







Flow Chart Engine Coolant Temperature Sensor Stuck Test (all temperatures above threshold) (P0116)
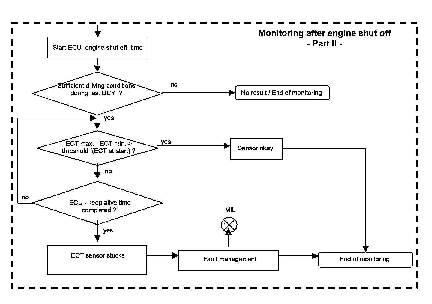
Monitoring of engine temperature during normal DCY and during engine shut off time

Part I:







Monitoring of engine temperature during normal DCY and during engine shut off time

Part II:







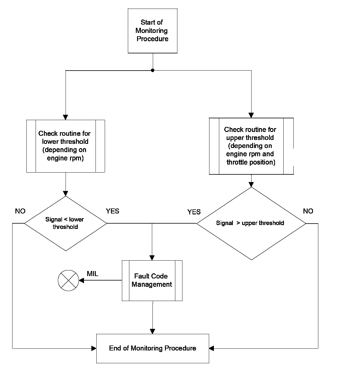
Engine Coolant Temperature Sensor Out of Range Check (P0118 / P0117)
The signal of Engine Coolant Temperature Sensor is evaluated and considered to be electrically out of range if either the upper or the lower thresholds is exceeded.