Curiosii for ever!: Car repair manuals for everyone.

Camshaft Position (CMP) Sensor, Checking



Camshaft Position (CMP) Sensor, Checking

NOTE: Use only gold-plated terminals when servicing terminals in the harness connector.

Recommended special tools and equipment
- V.A.G 1526 multimeter or V.A.G 1715 multimeter
- V.A.G 1594 connector test kit
- Wiring diagram

Test requirements
- Fuses on E-box in engine compartment, left side, must be OK.

NOTE: Fuses on this fuse holder are labelled "SB" in the wiring diagram.







- Fuses on fuse holder in instrument panel, left side, must be OK.

NOTE: Fuses on this fuse holder are labelled "SC" in the wiring diagram.

- Battery voltage must be at least 11.5 Volts.
- All electrical consumers such as, for example, lights and rear window defroster must be switched off.
- Ground (GND) connections between engine and chassis must be OK.
- Ignition switched off.

Test sequence
Observe safety precautions.
Observe rules for cleanliness.







- Disconnect 3-pin connector to the corresponding Camshaft Position (CMP) sensor:
1 - Camshaft Position (CMP) Sensor -G40- for intake camshaft
4 - Camshaft Position (CMP) Sensor 2 -G163- for exhaust camshaft

NOTE: Before disconnecting harness connectors, mark allocation to component.

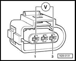
Checking voltage supply







- Connect multimeter to terminal 1 (B+) and 3 (Ground -GND-) of corresponding connector for Camshaft Position (CMP) sensor with adapter cables for voltage measurement.
- Switch ignition on.

Specified value: at least 4.5 V

- Switch ignition off.

If there is no malfunction in voltage supply:
- Check wires to Engine Control Module (ECM) according to wiring diagram.

Checking wires to Engine Control Module (ECM)
- Connect test box to 60-pin connector of wiring harness, connecting test box for wiring test. Test Box, Connecting For Wiring Test

Engine Control Module (ECM) is not connected.







- Check wires between test box and 3-pin connector to Engine Control Module (ECM) for open circuit according to wiring diagram.

Wire resistance: max. 3.0 ohms







- Also check wires for short circuit to each other.

Specified value: infinity ohms

- Erase DTC memory of Engine Control Module (ECM), Diagnostic mode 4: Reset/erase diagnostic data. Diagnostic Mode 04 - Erase DTC Memory
- Generate readiness code. Monitors, Trips, Drive Cycles and Readiness Codes

If no malfunction is found in the wires and there was voltage between terminals 1 and 3:
- Replace the corresponding Camshaft Position (CMP) sensor:
- Camshaft Position (CMP) Sensor -G40-, item 16,
- Camshaft Position (CMP) Sensor 2 -G163-, item 14.

- Erase DTC memory of Engine Control Module (ECM), Diagnostic mode 4: Reset/erase diagnostic data. Diagnostic Mode 04 - Erase DTC Memory
- Generate readiness code. Monitors, Trips, Drive Cycles and Readiness Codes

If no malfunction is found in the wires and there was no voltage between terminals 1 and 3:
- Replace Engine Control Module (ECM) -J623-