Curiosii for ever!: Car repair manuals for everyone.

Low Fuel Pressure Sensor, Checking



Low Fuel Pressure Sensor, Checking

NOTE: Use only gold-plated terminals when servicing terminals in the harness connector.

Recommended special tools and equipment
- VAG1526 multimeter or VAG1715 multimeter
- VAG1594 connector test kit
- Wiring diagram

Test requirements







- Fuses on E-box in engine compartment, left side, must be OK.

NOTE: Fuses on this fuse holder are labelled "SB" in the wiring diagram.







- Fuses on fuse holder in instrument panel, left side, must be OK.

NOTE: Fuses on this fuse holder are labelled "SC" in the wiring diagram.

- Battery voltage must be at least 11.5 Volts.
- All electrical consumers such as, lights and rear window defroster must be switched off.
- Ground (GND) connections between engine and chassis must be OK.
- Ignition switched off.

Test sequence
Observe safety precautions.
Observe rules for cleanliness.

- Remove engine cover, removing and disassembling air filter/engine cover.







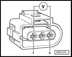
- Disconnect 3-pin connector -1- from Low Fuel Pressure Sensor -G410-.

Checking voltage supply







- Connect multimeter with test leads to terminals 1 and 3 connector for voltage measurement.
- Switch ignition on.

Specified value: at least 4.5 V

- Switch ignition off.

If there is no malfunction in voltage supply:
- Check wires to Engine Control Module (ECM) according to wiring diagram.

Checking wires to Engine Control Module (ECM)
- Connect test box to 60-pin connector of wiring harness. Test Box, Connecting For Wiring Test

Engine Control Module (ECM) is not connected.







- Check wires between test box and 3-pin connector to Engine Control Module (ECM) for open circuit according to wiring diagram.

Terminal 1 + socket 14
Terminal 2 + socket 7
Terminal 3 + socket 37

Wire resistance: max. 3.0 Ohms

- Check wires for short circuit to each other.

Specified value:Infinity Ohms

- Erase DTC memory of Engine Control Module (ECM). Diagnostic Mode 04 - Erase DTC Memory
- Generate readiness code. Monitors, Trips, Drive Cycles and Readiness Codes

If no malfunction is found in the wires and there was voltage between terminals 1 and 3:
- Replace Low Fuel Pressure Sensor -G410-.
- Erase DTC memory of Engine Control Module (ECM). Diagnostic Mode 04 - Erase DTC Memory
- Generate readiness code. Monitors, Trips, Drive Cycles and Readiness Codes

If no malfunction is found in the wires and there was no voltage between terminals 1 and 3:
- Replace Engine Control Module (ECM) -J623-.