Curiosii for ever!: Car repair manuals for everyone.

Engine Speed Sensor: Testing and Inspection






Engine Speed Sensor G28, Checking

Use only gold-plated terminals when servicing terminals in the electrical harness connector of the Engine Speed (RPM) Sensor (G28).

Special tools, testers and auxiliary items required

Multimeter.

Wiring diagram.

Test requirements

The Motronic Engine Control Module (ECM) (J623) fuses OK.

Battery voltage at least 12.5 volts.

All electrical consumers such as, lights and rear window defroster, switched off.

Vehicles with automatic transmission, shift selector lever into position " P" or "N".

A/C switched off.

Ground (GND) connections between engine/transmission/chassis OK.

Ignition switched off.

Function

The Engine Speed (RPM) Sensor (G28) detects RPM and reference marks. Without an engine speed signal, the engine will not start. If the engine speed signal fails while the engine is running, the engine will stop immediately.

Function test

- Connect the scan tool.

- Switch the ignition on.

- Using the scan tool, check the engine speed:





- End diagnosis and switch ignition off.

If the specified value was not obtained:

Test procedure

- Perform a preliminary check to verify the customers complaint. Refer to => [ Preliminary Check ] Preliminary Check.

Start diagnosis

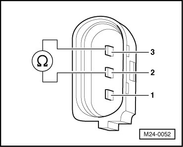
- Disconnect the Engine Speed (RPM) Sensor (G28) electrical harness connector - 1 -.





Checking internal resistance

- Using a multimeter, check the Engine Speed (RPM) Sensor (G28) terminals 2 to 3 for resistance.





Specified value: 730 to 1000 ohms (at approx. 20° C)

- Check Engine Speed (RPM) Sensor (G28) terminals 1 to 2 and 1 to 3 for short circuits.

Specified value: infinite (infinity)

If any of the specified values are not obtained:

- Replace the Engine Speed (RPM) Sensor (G28).

If the specified values are obtained:

Checking wiring

If the manufacturers test box is being used. Perform the following step.

- Install the test box.

If the manufacturers test box is not being used. Perform the following step.

- Remove the Motronic Engine Control Module (ECM) (J623). Refer to => [ Motronic Engine Control Module J623, Replacing ] Motronic Engine Control Module J623, Replacing.

- Using a Multimeter, check the Engine Speed (RPM) Sensor (G28) electrical harness connector terminals to the Motronic Engine Control Module (ECM) (J623) electrical harness connector T60 terminals for an open circuit.









Specified value: 1.5 ohms Max.

If the specification was not obtained:

- Check the wiring for a short circuit to each other, Battery (+), and Ground (GND).

- Check the electrical harness connector for damage, corrosion, loose or broken terminals.

- If necessary, repair the faulty wiring connection.

If no malfunction is detected in the wiring:

- Remove the Engine Speed (RPM) Sensor (G28) and check the sensor wheel for proper seating, damage and run-out.

If the sensor wheel is OK:

- Erase the DTC memory. Refer to => [ Diagnostic Mode 04 - Erase DTC Memory ] Diagnostic Mode 04 - Erase DTC Memory.

- Perform a road test to verify repair.

If the DTC does not return:

Repair complete, Generate readiness code. Refer to => [ Readiness Code ] Readiness Code.

- End diagnosis.

If the DTC does return and no malfunction is detected in the wiring and the voltage supply was not OK:

- Replace the Motronic Engine Control Module (ECM) (J623). Refer to => [ Motronic Engine Control Module J623, Replacing ] Motronic Engine Control Module J623, Replacing.

- Assembly is performed in the reverse of the removal.

Final Procedures

After the repair work, the following work steps must be performed in the following sequence:

1. Check the DTC memory. Refer to => [ Diagnostic Mode 03 - Read DTC Memory ] Diagnostic Mode 03 - Read DTC Memory.

2. If necessary, erase the DTC memory. Refer to => [ Diagnostic Mode 04 - Erase DTC Memory ] Diagnostic Mode 04 - Erase DTC Memory.

3. If the DTC memory was erased, generate readiness code. Refer to => [ Readiness Code ] Readiness Code.

End of diagnosis.